EasyManua.ls Logo

Panasonic SA-PM65MD - Self-Diagnostic Display Function; Entering self-diagnostic Mode

Panasonic SA-PM65MD
144 pages
Print Icon
To Next Page IconTo Next Page
To Next Page IconTo Next Page
To Previous Page IconTo Previous Page
To Previous Page IconTo Previous Page
Loading...
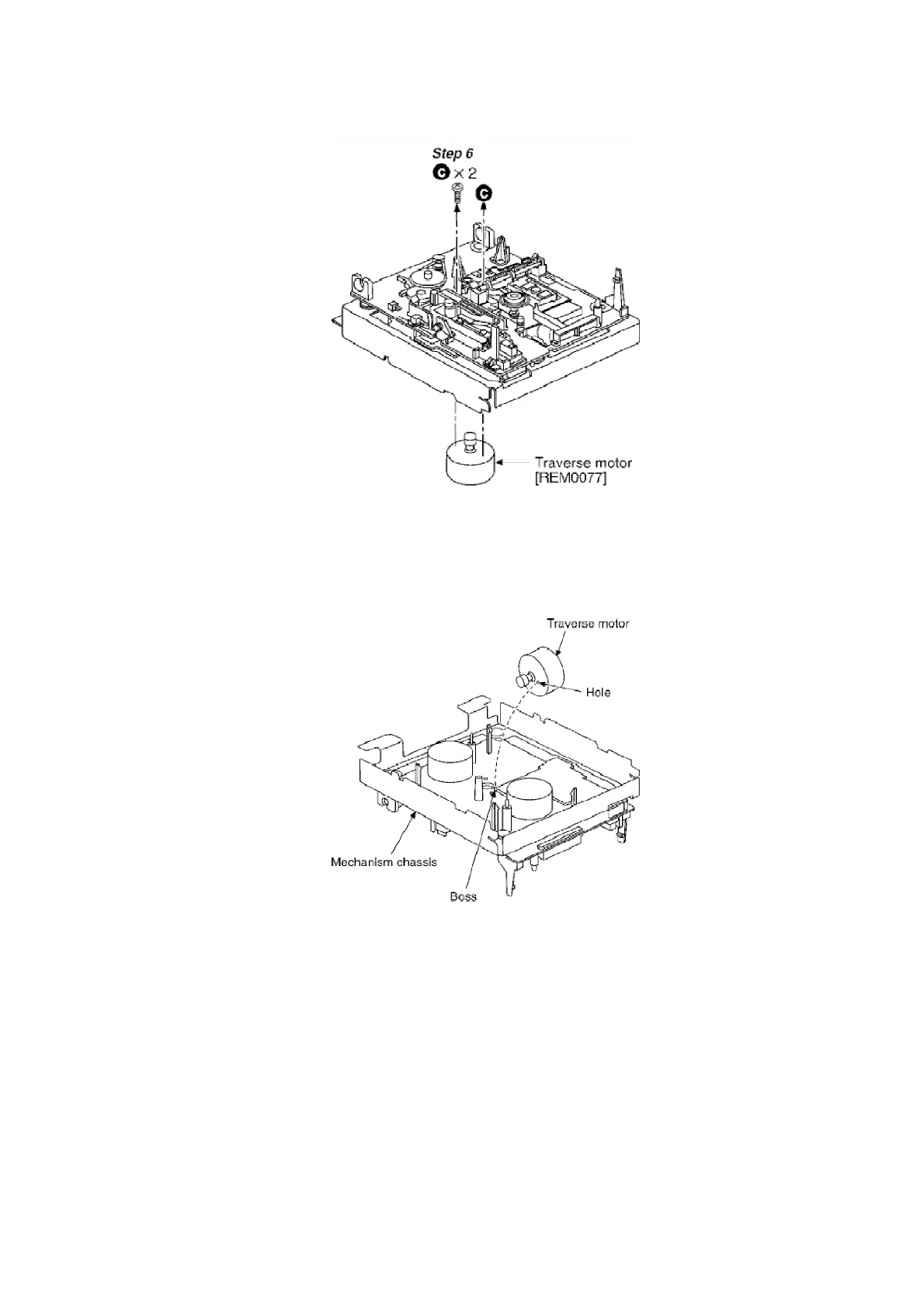
Notice for installing the traverse motor
- Align the hole of traverse motor with the boss of mechanism
chassis and then install the traverse motor.
9. Self-Diagnostic Display Function
This unit is equipped with a self-diagnostic function which, in the event of a malfunction,
automatucally display a code indication the nature of the malfunction. Use this self-diagnostic
function when servicing the unit.
9.1. Entering self-diagnostic Mode
1. Turn the power on.
2. Press CD play button with no CD, cassette or MD loaded.
3. Press and hold the STOP button for at least 2 seconds, and while
31

Related product manuals