EasyManua.ls Logo

Panasonic TH-L32X20Z

Panasonic TH-L32X20Z
81 pages
To Next Page IconTo Next Page
To Next Page IconTo Next Page
To Previous Page IconTo Previous Page
To Previous Page IconTo Previous Page
Loading...
TH-L32X20Z
13
6.2. Power LED Blinking timing chart
1. Subject
Information of LED Flashing timing chart.
2. Contents
When an abnormality occurs, the protection circuit will operate and reset the unit to stand by mode. During this time, the
defective block can be identified by the number of blinking times of the Power LED on the front panel of the unit as follow:
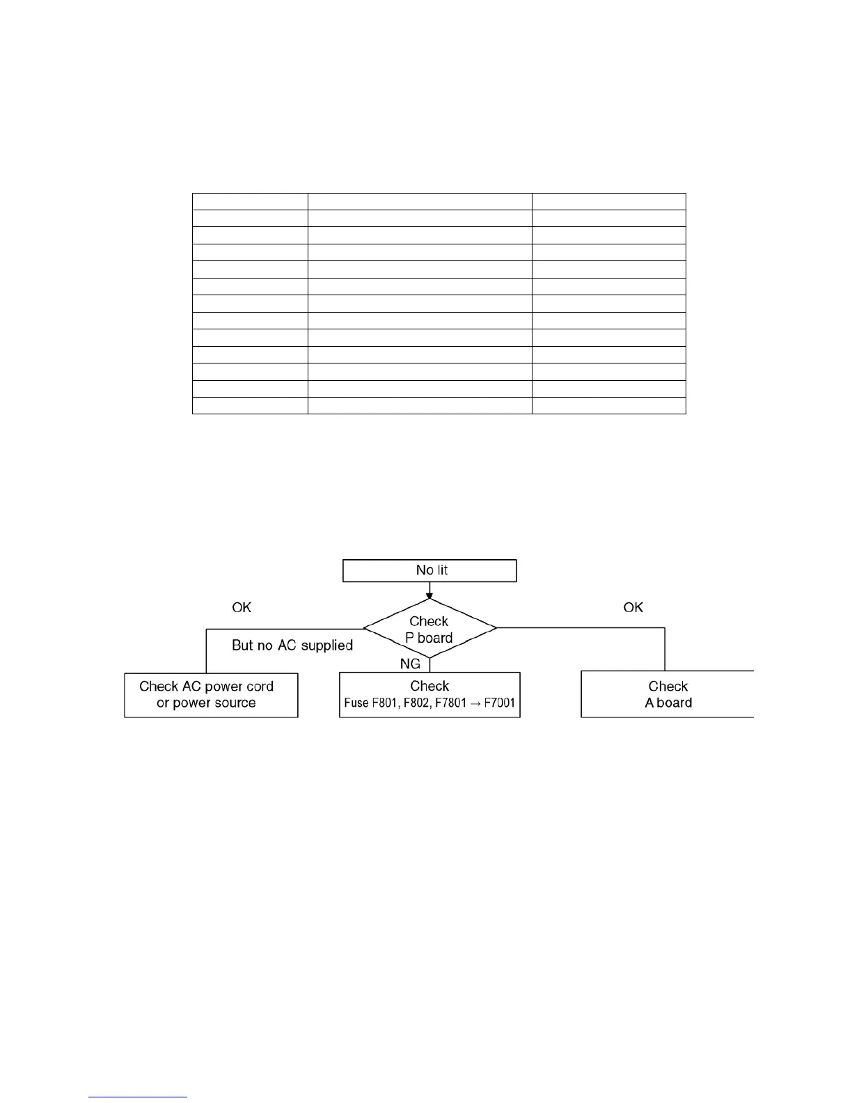
6.3. No Power
First check point
There are following 2 states of No Power indication by power LED.
1. No lit
2. Red is lit then turns red blinking a few seconds later. (See 6.2.)
Blinking times Contents BOARD
1 Inverter_SOS P BOARD
2 FAN_SOS A BOARD
3 SOS A BOARD
4 DTV_9V P/A BOARD
5 MAIN_9V A BOARD
6 SUB_5V A BOARD
7 SUB_3.3V A BOARD
8 MAIN_3.3V A BOARD
9 SOUND_SOS A BOARD
10 HQ1L_SOS / ZWEI_SOS A BOARD
13 EMERGENCY SOS A BOARD
14 Audio PWM SOS A BOARD

Table of Contents

Related product manuals