EasyManua.ls Logo

Panasonic TH-P50ST30A - Remove the SU-Board; Remove the SD-Board; Remove the SC-Board; Remove the SS-Board

Panasonic TH-P50ST30A
132 pages
Print Icon
To Next Page IconTo Next Page
To Next Page IconTo Next Page
To Previous Page IconTo Previous Page
To Previous Page IconTo Previous Page
Loading...
24
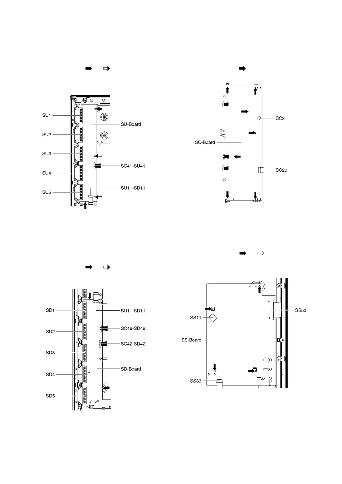
9.8. Remove the SU-Board
1. Disconnect the flexible cables (SU1, SU2, SU3, SU4 and
SU5) connected to the SU-Board.
2. Disconnect the flexible cable (SU11-SD11) and the bridge
connector (SC41-SU41).
3. Remove the screws (×2 , ×2 ) and remove the SU-
Board.
9.9. Remove the SD-Board
1. Disconnect the flexible cables (SD1, SD2, SD3, SD4 and
SD5) connected to the SD-Board.
2. Disconnect the flexible cable (SU11-SD11) and the bridge
connectors (SC42-SD42 and SC46-SD46).
3. Remove the screws (×2 , ×2 ) and remove the SD-
Board.
9.10. Remove the SC-Board
1. Remove the SU-Board and SD-Board. (See section 9.8.
and 9.9.)
2. Disconnect the connector (SC2).
3. Disconnect the flexible cable (SC20).
4. Remove the screws (×7 ) and remove the SC-Board.
9.11. Remove the SS-Board
1. Disconnect the connector (SS11).
2. Disconnect the flexible cable (SS33).
3. Disconnect the flexible cable (SS53).
4. Remove the screws (×4 , ×4 ) and remove the SS-
Board.

Table of Contents

Related product manuals