EasyManua.ls Logo

Patlite LR4 - Page 69

Patlite LR4
93 pages
Print Icon
To Next Page IconTo Next Page
To Next Page IconTo Next Page
To Previous Page IconTo Previous Page
To Previous Page IconTo Previous Page
Loading...
69
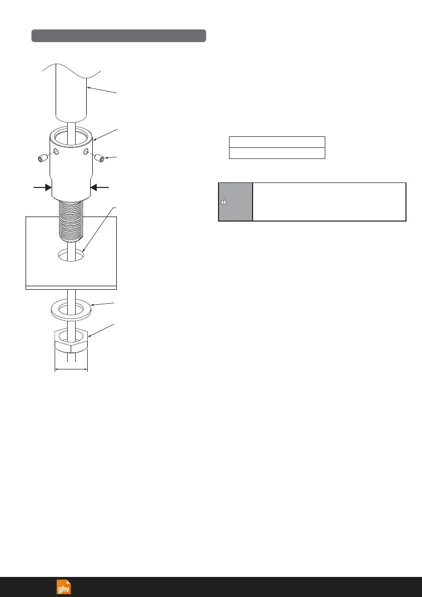
Hexagon Socket Set Screw
(2 pcs.)
Pole
Pole-compatible Adaptor
Mounting Hole
Plain Washer
Hexagon Nut
AA
Opposite Side 23
Pole-compatible Adaptor Installation
1 . Run the wiring through the the Pole-compatible Adaptor.
Insert the Pole into the Pole-compatible Adaptor.
2 . Secure the Pole with the Hexagon Socket Set Screws
(2 pcs.) on the pole-compatible adaptor.
3 . Run the wiring through the mounting hole.
While holding part "A", secure the Pole-compatible
Adaptor with included Plain Washer and Hexagon Nut.
Recommended Torque
30 N
m
Installation using materials other than the specified
accessories is not covered under warranty.
When the Pole-compatible Adaptor is installed,
do not hold the product and the pole.
Notice
(Unit
:
mm
ghv Vertriebs-GmbH | Am Schammacher Feld 47 | 85567 Grafing | Telefon + 49 80 92 81 89 0 | info@ghv.de | www.ghv.de