EasyManua.ls Logo

Payne PG8J - Page 52

Payne PG8J
52 pages
Print Icon
To Previous Page IconTo Previous Page
To Previous Page IconTo Previous Page
Loading...
52
11 NO PREVIOUS CODE  Stored codes
are erased after 72 hours. On RED LED
boards stored status codes can also be
erased whenever power (115V or 24V)
is interrupted. Run system through a
heating or cooling cycle to check system.
12 BLOWER ON AFTER POWER UP 
(115V OR 24V)  Normal operation.
Blower runs for 90 seconds, if unit is
powered up during a call for heat (R-W
closed) or when (R-W opens) during the
blower on-delay period.
13 LIMIT CIRCUIT LOCKOUT  Lockout
occurs if the limit, draft safeguard, flame
rollout, or blocked vent switch*(if used) is
open longer than 3 minutes. Control will
auto-reset after 3 hours. See code 33.
14 IGNITION LOCKOUT  System failed to
ignite gas and prove flame in 4 attempts.
Control will auto-reset after 3 hours.
See status code 34.
21 GAS HEATING LOCKOUT  Turn off
power and wait 5 minutes to retry.
Check for:
- Stuck closed gas valve relay on control.
- Miswire or short to gas valve wire.
22 ABNORMAL FLAME-PROVING SIGNAL
Flame is proved while gas valve is de-
energized. Inducer will run until fault is
cleared. Check for:
- Stuck open or leaky gas valve.
23 PRESSURE SWITCH DID NOT OPEN
Check for:
- Obstructed pressure tube.
- Pressure switch stuck closed.
24 SECONDARY VOLTAGE FUSE IS OPEN
Check for:
- Short circuit in secondary voltage (24V)
wiring including thermostat leads.
Disconnect thermostat leads to isolate
short circuit.
31 PRESSURE SWITCH DID NOT CLOSE
OR REOPENED  If open longer than 5
minutes, inducer shuts off for 15 minutes
before retry. If opens during blower on-
delay period, blower will come on for the
selected blower off-delay. Check for:
- Proper vent sizing.
- Low inducer voltage (115V).
- Low inlet gas pressure (if LGPS used).
- Inadequate combustion air supply.
- Disconnected or obstructed pressure
tubing.
- Defective inducer motor.
- Defective pressure switch.
- Excessive wind.
- Restricted vent.
33 LIMIT CIRCUIT FAULT  Indicates the
limit, draft safeguard, flame rollout, or
blocked vent shutoff switch* (if used) is
open. Blower will run for 4 minutes or
until open switch remakes whichever is
longer. If open longer than 3 minutes,
code changes to lockout #13. If open
less than 3 min. status code #33
continues to flash until blower shuts off.
Flame rollout switch and BVSS requires
manual reset. Check for:
- Dirty filter or restricted duct system.
- Loose blower wheel.
- Defective switch or connections.
- Defective blower motor or capacitor.
- Inadequate combustion air supply
(flame rollout switch open).
- Restricted vent.
- Proper vent sizing.
- Excessive wind.
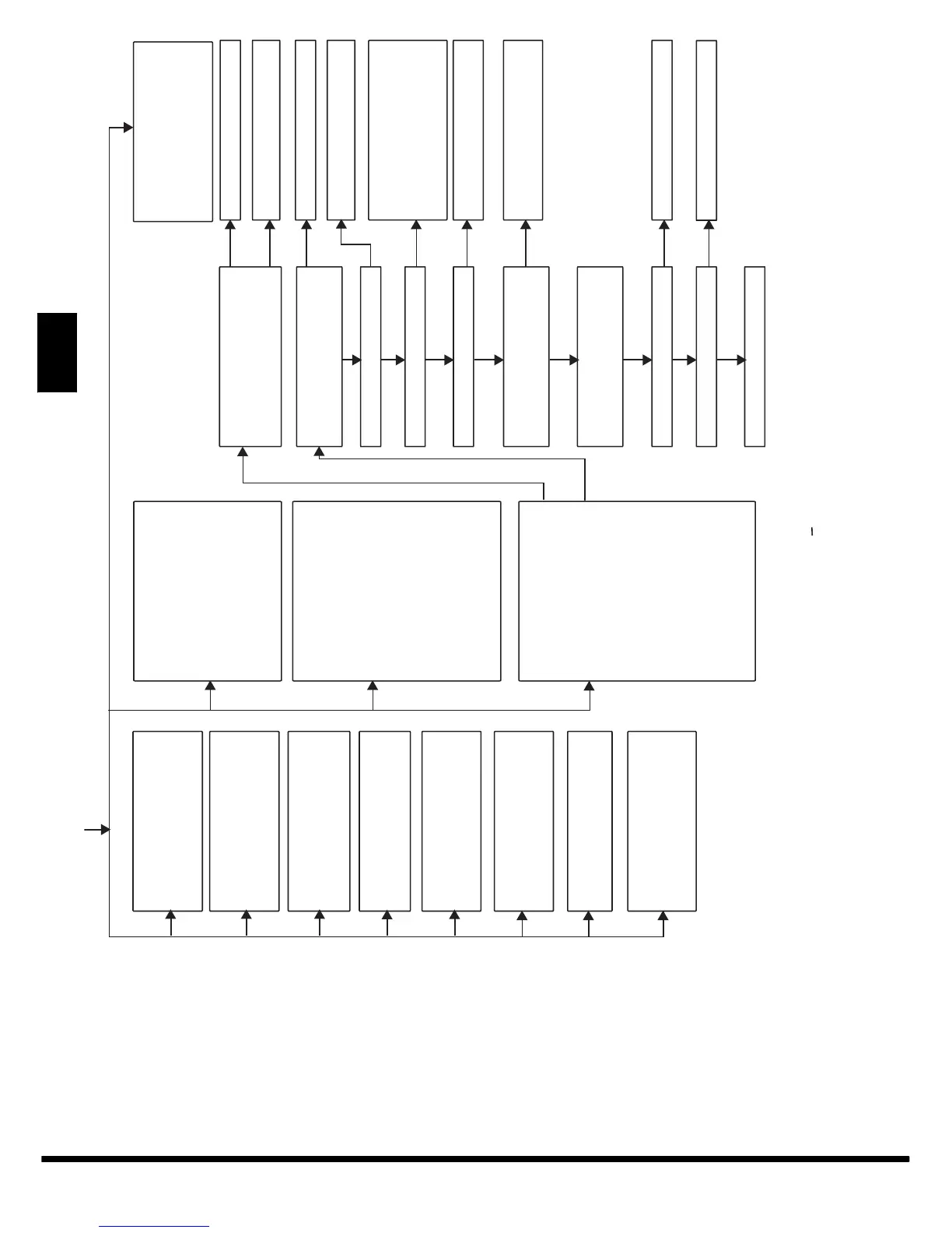
34 IGNITION PROVING FAILURE  If flame
is not sensed during the trial for ignition
period, the control will repeat the ignition
sequence 3 more times before lockout
#14 occurs. If flame signal is lost during
the blower on-delay period, blower will
come on for the selected blower off-delay.
Check the following items first before
proceeding to the next step.
- Gas valve turned off.
- Manual shut-off valve.
- Green/Yellow wire MUST be connected
to furnace sheet metal.
- Flame sensor must not be grounded.
To determine whether the problem is in
the gas valve, igniter, or flame sensor the
system can be operated in the component
test mode to check the igniter. First
remove the R thermostat connection from
the control and initiate the component
test sequence. Does the igniter glow
orange/white by the end of the 15 second
warm-up period?
Unplug igniter harness from control and initiate
another component test sequence. Check
for 115V between pin 1 and NEUTRAL-L2 on
the control. Was 115V present for the 15
second period?
Reconnect the R thermostat lead and set
thermostat to call for heat. Connect voltmeter
across gas valve connections. Does gas valve
receive 24V?
Does gas valve open and allow gas to flow?
Do the main burners ignite?
Do the main burners stay on?
Repeat call for heat and check flame sensor
current during trial for ignition period. Is the
DC microamps below 0.5?
Is current near typical value?
Will main burners ignite and stay on?
Fixed.
Clean flame sensor with fine steel wool and
recheck current. Nominal current is 4.0 to 6.0
microamps.
45 CONTROL CIRCUITRY LOCKOUT
Auto-reset after 1 hour lockout due to:
- Flame circuit failure.
- Gas valve relay stuck open.
- Software check error.
Reset power to clear lockout. Replace
control if code repeats.
Replace furnace control.
Check for continuity in the harness and igniter.
Replace defective component.
Check connections. If OK, replace control.
Check that all gas valves are turned on.
Replace valve.
Check for:
- Inadequate flame carryover or rough
ignition.
- Low inlet gas pressure.
- Proper firing rate.
- Blocked or incorrect carry- over gap.
(.045 nominal)
Allow blower to come on and repeat test to
check for intermittent operation.
Check connections and retry. If current is
near typical value (4.0-6.0 nominal) and
burners will not stay on, replace control.
Replace electrode.
Replace furnace control.
* Blocked vent shutoff switch used in Chimney Adapter Kit
YES
YES
YES
YES
NO
YES
YES
YES
NO
YES
NO
NO
NO
YES
NO
NO
NO
NO
Fig. 54
Troubleshooting Guide
Copyright 2008 Payne Heating & Cooling S 7310 W. Morris St. S Indianapolis, IN 46206
Manufacturer reserves the right to change, at any time, specifications and designs without notice and without obligations.
C a t a l o g N o : I M -- P G 8 J -- 1 0
Replaces: IM--PG8J--09
Printed in U.S.A. Edition Date: 07/08
PG8J/M

Other manuals for Payne PG8J

Related product manuals