EasyManua.ls Logo

Payne PG95 - Page 26

Payne PG95
86 pages
Print Icon
To Next Page IconTo Next Page
To Next Page IconTo Next Page
To Previous Page IconTo Previous Page
To Previous Page IconTo Previous Page
Loading...
26
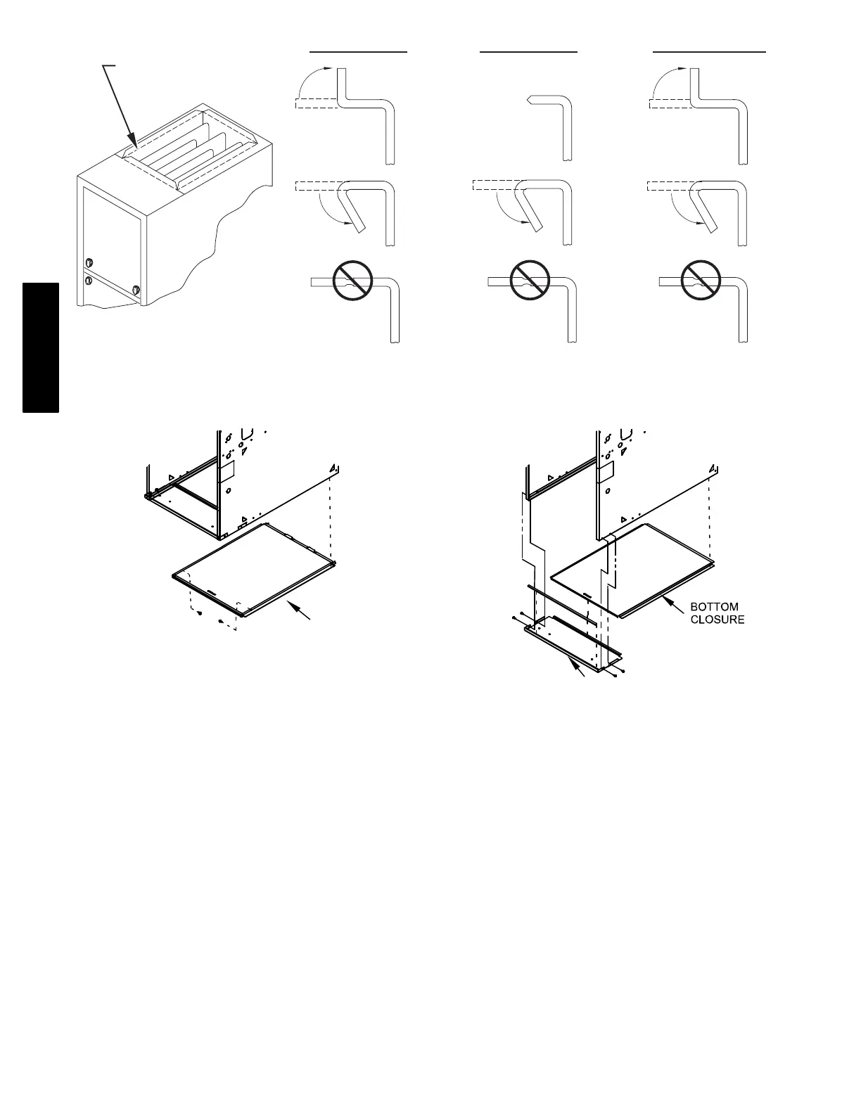
UPFLOW DOWNFLOW HORIZONTAL
YES
NO
NO
YES
YES
YES
NO
120°
MIN
YES
120°
MIN
YES
120°
MIN
90°
90°
PERFORATED
DISCHARGE DUCT
FLANGE
A10493
Fig. 22 Duct Flanges
1 Lay furnace on the back or side
2 Remove the two (2) screws that secure the bottom
closure panel to the furnace casing and remove the
panel
SCREWS (2)
BOTTOM
CLOSURE
Representative drawing only,
some models may vary in appearance.
A170123
Fig. 23 Removing Bottom Closure Panel (2 Screws)
BOTTOM
PLATE
SCREWS (4)
1 Lay furnace on the back or side
2 Remove the four (4) screws that secure the bottom
plate to the furnace casing
3 Remove the bottom closure from the casing
4Reinstall the bottom plate to the furnace casing and
reinstall the four (4) screws
Representative drawing only,
some models may vary in appearance.
A170124
Fig. 24 Removing Bottom Closure Panel (4 Screws)
PG95SAS

Related product manuals