EasyManua.ls Logo

PDL UD3-60 - Starting Mode

Default Icon
113 pages
Print Icon
To Next Page IconTo Next Page
To Next Page IconTo Next Page
To Previous Page IconTo Previous Page
To Previous Page IconTo Previous Page
Loading...
Microdrive Series Instruction Manual
4201-109 Rev I
66
60 STARTING MODE
Screen 60 STR MODE=RAMP
Description STARTING MODE
Options NORMAL [RAMP] / [SPINNING]
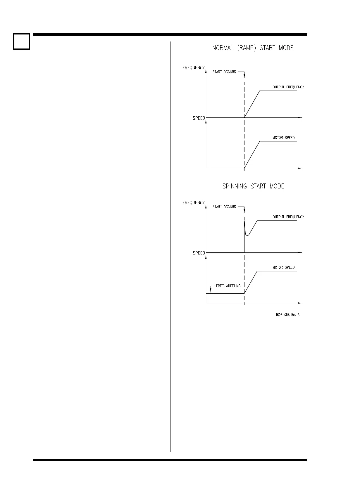
FUNCTION Provides the option of a special starting mode
for special motor loads which may be spinning
when started (e.g., freewheeling fans).
Problems can occur if a spinning load is started
conventionally (i.e., Microdrive turns on at
zero hertz, before accelerating to the set
frequency) as the load must first be stalled to
near zero frequency, before being
accelerated.
When spinning start is selected, the Microdrive
starts at the maximum frequency, instead of
zero hertz. If the set frequency does not
match the spinning frequency of the load, an
over current situation arises, causing the
Microdrive to operate in current limit and reduce
its output frequency until the frequency
matches the speed of the load. Once the
frequencies match, the current will be reduced
and the load will be accelerated normally
toward the set point.
Note: When spin starting from the maximum
frequency, the direction is set to the same as
the reference frequency. When the reference
frequency is 0.0Hz the spin start will be in the
positive direction.
SETTING UP If the Microdrive will not normally be required
to start spinning loads, set the starting mode
to (normal) ramp acceleration.
If starting into spinning loads is a specific
requirement of your application, set the starting
mode to SPIN. During a spin start, while the
Microdrive is trying to match the output
frequency with the motor speed, the output
current will be controlled independently of the
motor current limit (Screen 18) and the current
limit timeout (Screen 19). For most reliable
starting, set the current limit timeout to above
0.0s (or OFF) to prevent Shearpin tripping
once the Microdrive matches the motor speed.
60

Table of Contents

Related product manuals