EasyManua.ls Logo

Peavey 24FX Mixer

Peavey 24FX Mixer
94 pages
To Next Page IconTo Next Page
To Next Page IconTo Next Page
To Previous Page IconTo Previous Page
To Previous Page IconTo Previous Page
Loading...
17
IMPORTANT: When a signal passes through a digital
effects processor, a short delay results. When this
same signal returns to the mixer and combines with
the main output, the small delay difference results in
a comb lter. (Short changing delays are the basis of
wah-wah effects.) To prevent the comb-lter effect,
increase the delay time simply by including an effect
block such as reverb or delay.
Note that many effects like compressor, limiter, gate,
chorus, etc., do not work well when used alone on
an effects send. Fortunately, the EFX 2 Patch Jack
(56) can be patched directly into an Insert (48) on any channel or subgroup (Group Inserts (54)). Press
the EFX 2 Patch Switch (33) to activate the patch. In this conguration, comb ltering is eliminated be-
cause the only signal path is through the processor.
If you make a mistake, you do not have to start over. The “undo” button will revert the last change to its
original setting, much like the undo command in a word processor. To make further renements to any
user-dened preset, you have two choices: press the "back" button and start completely over, or simply
use the soft knobs (45-46) to return to the individual effect within a preset. Remember, factory presets
cannot be altered by the user. If you choose to adjust or build on a factory preset (which we encourage
you to do), your saved settings will be automatically directed to the next, unused, customized preset.
WARNING: When user-dened, customizable presets are saved, they will automatically replace the
current settings for that preset UNLESS you assign a new preset number. If you overwrite the originally
saved preset settings, the old settings are no longer retrievable.
QUICK TIP: From anywhere within the digital arena, you can return to the main effects screen simply by
pressing the Effects Button (44A).
44B Output Processing
Pressing the Output Processing button (44B) allows
users to adjust the main (L-R) signal output from
the FX™ mixer, in your choice of stereo output, dual
mono output, or subwoofer output modes. Users
can create and save presets for all three effects com-
bined. Your mixer is also equipped with one “neu-
tral” preset, allowing an unadjusted (zero) starting
place for creating a new preset.
By default, the stereo output menu appears when the Output Processing button (44B) is pressed. If you
prefer to work in dual-mono-output or
subwoofer mode, return to the main output processing screen by pressing the “mode” soft knob choice.
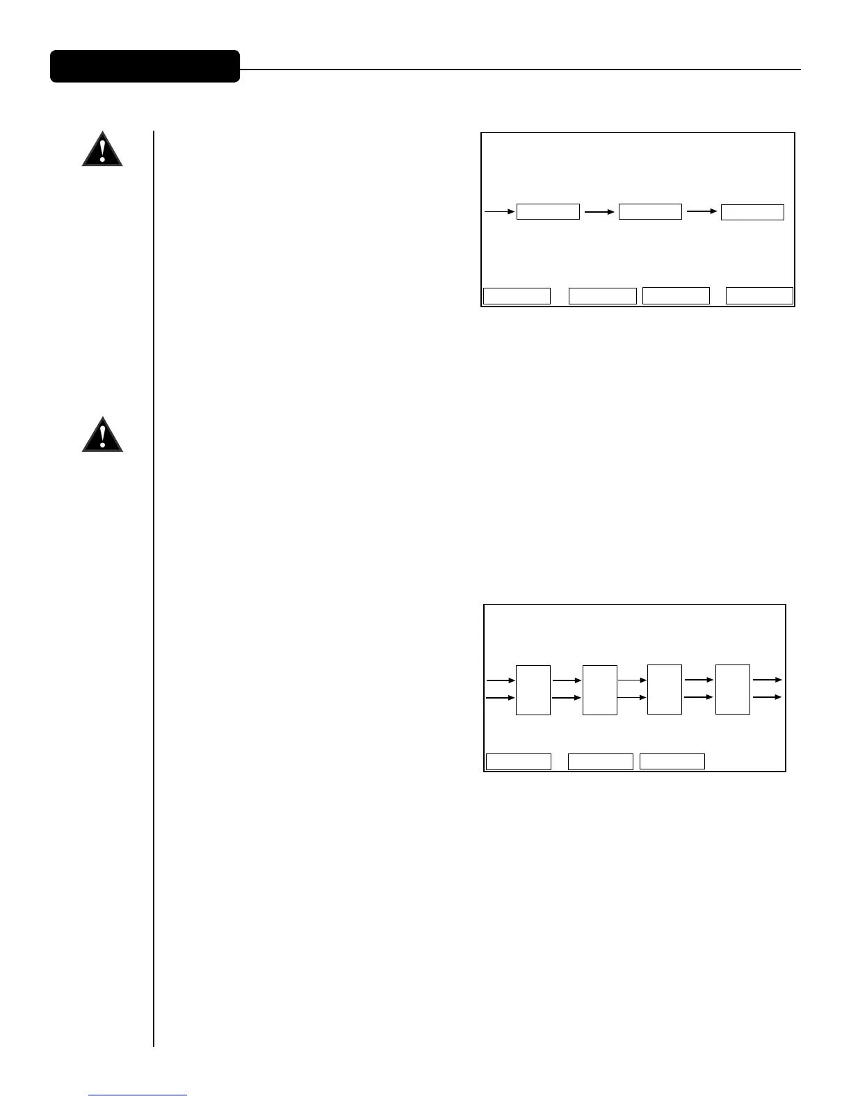
Stereo Output Mode
The stereo output option features four customizable output effects: Feedback Ferret®, EQ, Delay, and
Limiter. To edit an effect, press the Soft Encoder button (45) and then enter the edit mode using Soft
Switches (46). To save a new preset (save current) or to use a previously saved setting (load saved),
enter the “lib” (library) mode using the soft knobs (45-46).
Remember, in stereo mode these parameter adjustments are made to both the left and right channels
equally.
OUTPUT PROCESSING
EDIT
TYPE
MODE
FB
EQ
DLY
LIM
EFX 1 user 34
None
None
None
EDIT
SAVE
TYPE
BACK
DIGITAL PROCESSING ARENA

Related product manuals