EasyManua.ls Logo

Peavey 24FX Mixer

Peavey 24FX Mixer
94 pages
To Next Page IconTo Next Page
To Next Page IconTo Next Page
To Previous Page IconTo Previous Page
To Previous Page IconTo Previous Page
Loading...
34
IMPORTANTE: Cuando la señal pasa a través del
procesador de efectos digital, conlleva un pequeño
delay. Cuando la misma señal vuelve al mezclador
y se combina con la salida principal, la diferencia
en el delay conlleva un ltro-combi o comb-lter.
(Cambios pequeños en el delay el lo básico en efec-
tos wah-wah.) Para prevenir el efecto ltro-combi,
aumente la duración del delay incluyendo un efecto
bloqueador como el reverb o delay.
Note que muchos efectos como el compresor, limi-
tador, gate, chorus, etc.,no funcionan bien cuando
se usan sólos en un envío de efectos. Afortunadamente, el EFX 2 Composición o Patch Jack (56) puede
ser o unido directamente dentro de un Insert (48) en cualquiera de los canales o subgrupos (Group
Inserts (54)). Presione el interruptor EFX 2 Composición o Patch (33) para activar la composición. Con
esta conguración, el ltro combi es eliminado porque el único recorrido que hace la señal va a través
del procesador.
Si comete un error, no tiene que empezar desde el principio. El botón “undo” convertirá el último cambio
a su jación original, muy parecido a un procesador de data. Para hacer los últimos cambios en cu-
alquier programa de usuario denido, tiene dos opciones: apriete el botón "back" y comience desde el
principio, o simplemente use los pots ligeros (45-46) para volver al efecto individual de un programa.
Recuerde, los programas de fábrica no pueden ser alterados por el usuario. Si preere hacer sus pro-
pios ajustes de fábrica (lo cual le invitamos a probar), los programas guardados serán automaticamente
dirigidos al próximo, ajuste sin usar.
AVISO: Cuando los ajustes customizables de usuario denido han sido guardados, cambiarán automati-
camente los ajustes presentes A NO SER que lo guarde con un número de ajuste diferente. Si cancela
los ajustes guardados originalmente, no podrán ser
recuperados por más tiempo.
CONSEJO RAPIDO: Desde cualquier punto del área
digital, puede recuperar los efectos principales de
pantalla simplemente apretando el botón Effects
(44A).
Salida de Procesamiento 44B
Apretando el botón de Salida de Procesamiento(44B)
permite al usuario ajustar la salida de señal prin-
cipal (I-D) desde el mezclador FX™, en su elección
de modo salida estéreo, dual mono, o subgrave.
Usuarios pueden crear y guardar ajustes para toda la combinación de efectos. Tu mesa de mezcla con un
ajuste “neutral”, permite acceder a un puesto sin ajustar (cero) y crear un ajuste nuevo.
Automaticamente, el menú de salida estéreo aparece cuando se ha pulsado el botón de Salida de
Procesamiento(44B). Si preere trabajar modo salida mono dual o subgrave, vuelva a la pantalla princi-
pal de Salida de Procesamiento por medio del botón ligero “mode”.
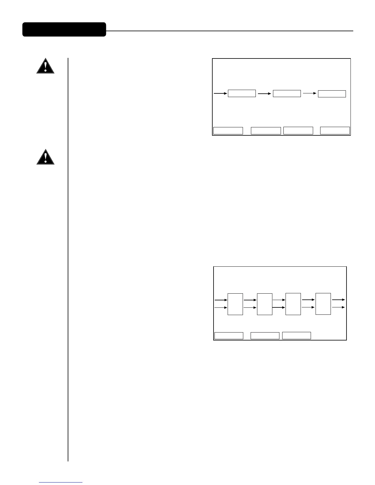
Modo Salida Estéreo
La opción de salida estéreo se caracteriza por cuatro salidas de efectos customizables: Feedback Fer-
ret®, EQ, Delay, y Limiter. Para editar un efecto, aprete el botón Soft Encoder (45) e introduzca la edición
de modo usando los interruptores ligeros o Soft interruptores (46). Para guardar un nuevo ajuste (guar-
dar actual) o para usar un ajuste previamente guardado (load saved), entrar en el modo “lib” (librería)
usando los botones ligeros (45-46).
Recuerde, en modo estéreo estos ajustes de parámetros están hechos para canales a la Izquierda y
Derecha igualmente.
OUTPUT PROCESSING
EDIT
TYPE
MODE
FB
EQ
DLY
LIM
EFX 1 user 34
None
None
None
EDIT
SAVE
TYPE
BACK
Campo de procesación digital

Related product manuals