EasyManua.ls Logo

PEDRO GIL RN - RS-TYPE BLOWERS WITH GASKETS

PEDRO GIL RN
26 pages
Print Icon
To Next Page IconTo Next Page
To Next Page IconTo Next Page
To Previous Page IconTo Previous Page
To Previous Page IconTo Previous Page
Loading...
24
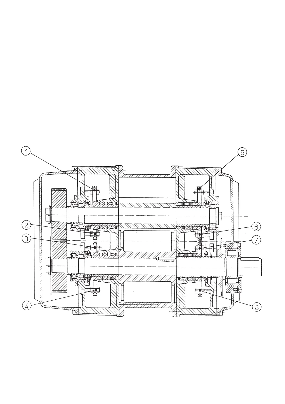
18.0 RS-TYPE BLOWERS WITH GASKETS
The instructions for service and maintenance are the normal ones as provided in this book
The only difference is that the RS-type model has a separate compression chamber with oil-filled sumps, and to
seal the shaft it has a gasket.
As the blower is installed in a pressurised pipeline, the gaskets must be adjusted gradually at the points indicated
in the diagram. This operation must be carried out with the machine stopped, giving the nutb 1/3 of a turn ( ) and
manually checking that the shaft is not jammed.