EasyManua.ls Logo

PEERLESS WV-DV - Page 14

PEERLESS WV-DV
24 pages
Print Icon
To Next Page IconTo Next Page
To Next Page IconTo Next Page
To Previous Page IconTo Previous Page
To Previous Page IconTo Previous Page
Loading...
12
ELECTRICAL
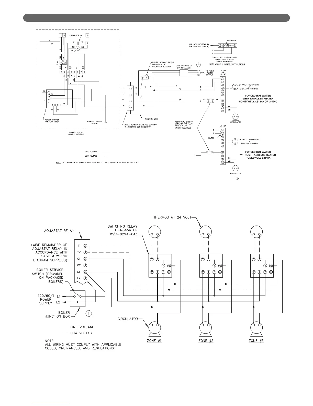
Figure 6.3: Riello Burner
Figure 6.4: Zoning With Circulators, Honeywell L8148 Aquastat

Related product manuals