EasyManua.ls Logo

Perkins 854E-E34TA - Page 38

Perkins 854E-E34TA
92 pages
Print Icon
To Next Page IconTo Next Page
To Next Page IconTo Next Page
To Previous Page IconTo Previous Page
To Previous Page IconTo Previous Page
Loading...
This document is printed from SPI². Not for RESALE
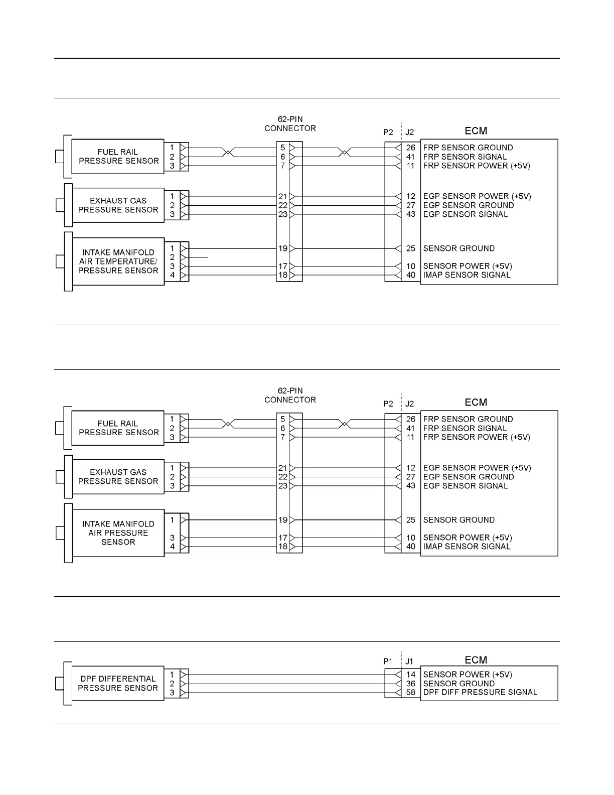
Pressure Sensors
Illustration 35 g03360401
Schematic for the pressure sensors for the 854E-E34TA (model JR) engine
Illustration 36 g03360409
Schematic for the pressure sensors for the 854F-E34T (model JS) engine and 854F-E34T (model JT) engine
Illustration 37 g03360405
Schematic for the DPF differential pressure sensor for the 854E-E34TA (model JR) engine and 854F-E34T (model
JS) engine
38 UENR0623
Engine Operation

Table of Contents

Other manuals for Perkins 854E-E34TA

Related product manuals