EasyManua.ls Logo

Perkins 854E-E34TA - Page 56

Perkins 854E-E34TA
92 pages
Print Icon
To Next Page IconTo Next Page
To Next Page IconTo Next Page
To Previous Page IconTo Previous Page
To Previous Page IconTo Previous Page
Loading...
This document is printed from SPI². Not for RESALE
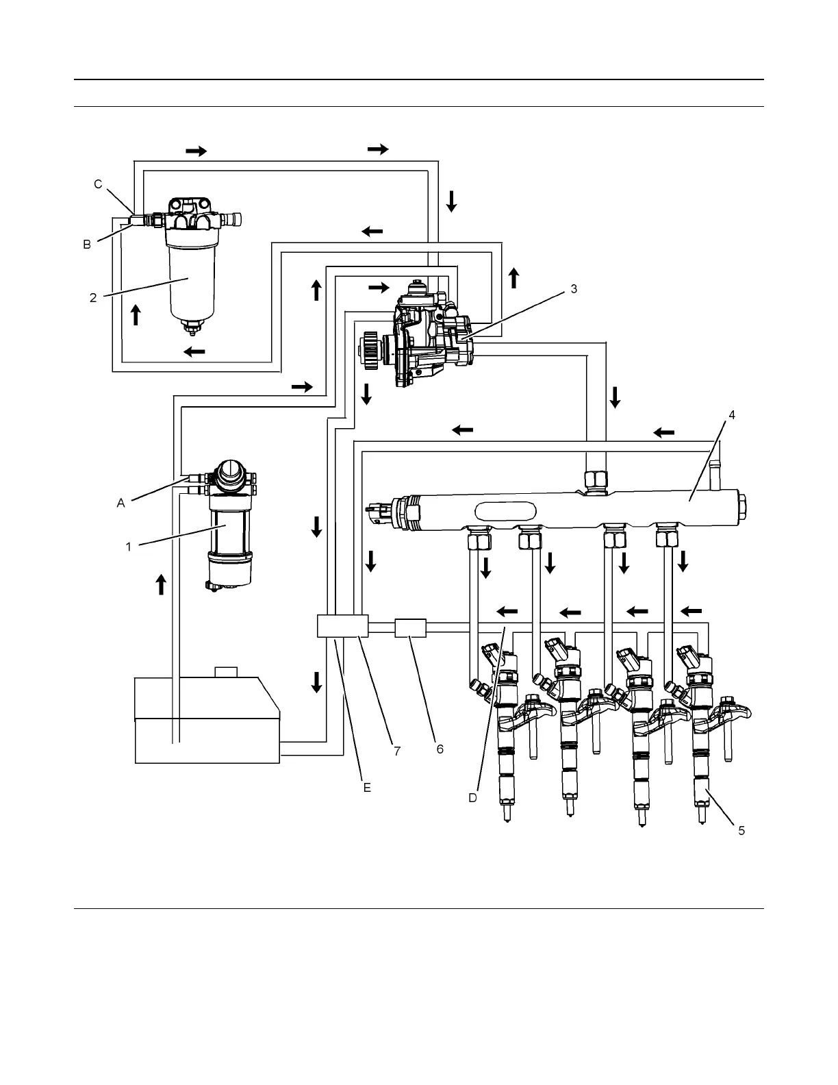
Illustration 51 g02871337
Typical example
(1) Primary fuel filter
(2) Secondary fuel filter
(3) Fuel injection pump
(4) Fuel manifold (rail)
(5) Electronic unit injector
(6) Check valve
(7) Manifold connector
56 UENR0623
Fuel System

Table of Contents

Other manuals for Perkins 854E-E34TA

Related product manuals