EasyManua.ls Logo

Perkins M215C - Page 13

Perkins M215C
86 pages
Print Icon
To Next Page IconTo Next Page
To Next Page IconTo Next Page
To Previous Page IconTo Previous Page
To Previous Page IconTo Previous Page
Loading...
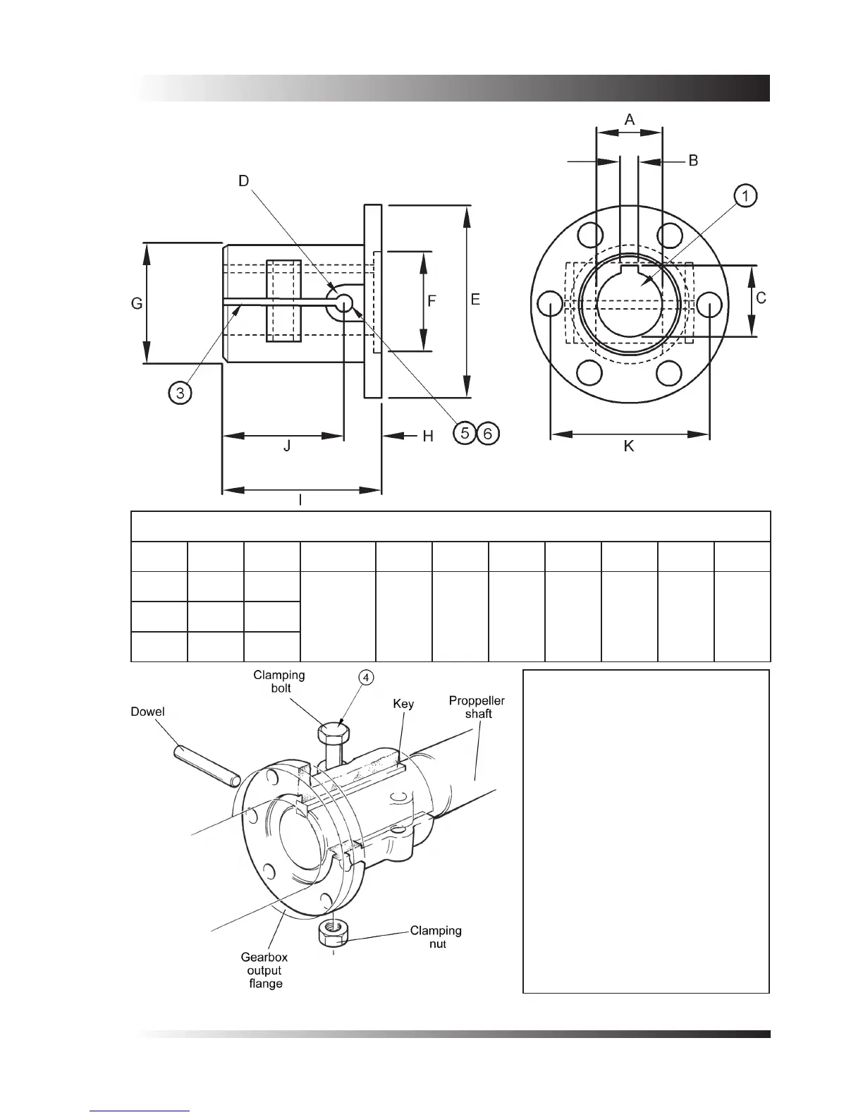
TPD1317e Chapter 2
Page 9
Dimensions in inches
A B C D E F G H I J K
1.25 0.31 1.39
Drill 15/32
Ream
0.5005-0
5.75 3.0 3.4 1.12 4.25 3.12 4.761.38 0.31 1.52
1.50 0.38 1.67
Machining Procedure
Bore to size (dimension ‘A’).
Broach keyway 4.0” long (dimension
‘B’).
Split, 0.135 Max. width (dimension
‘J’).
Clamp the coupling to the propeller
shaft in the position shown.
Drill 15/32” Diameter hole through
the propeller shaft and far side of
the coupling, using the starter hole
(dimension ‘D’).
0.5005-0.4990 Diameter ream
through both the coupling and shaft.
Dismantle and clean, then assemble.
1.
2.
3.
4.
5.
6.
7.
Figure 3 - Twin Disc gearbox couplings