EasyManua.ls Logo

Perlegear PGPILFK1 - Step 2: Bracket Assembly

Perlegear PGPILFK1
12 pages
Print Icon
To Next Page IconTo Next Page
To Next Page IconTo Next Page
To Previous Page IconTo Previous Page
To Previous Page IconTo Previous Page
Loading...
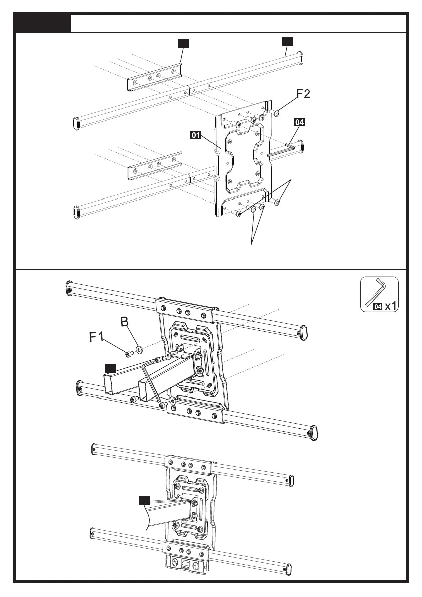
Step 2
Step 1
Tighten the two screws together.
Step 2
Tighten the two screws together.
02
03
05
05
4

Related product manuals