EasyManua.ls Logo

Perlesmith PSTVMC04 - Step 4: Secure the Poles

Perlesmith PSTVMC04
20 pages
Print Icon
To Next Page IconTo Next Page
To Next Page IconTo Next Page
To Previous Page IconTo Previous Page
To Previous Page IconTo Previous Page
Loading...
5/32″ (4mm)
3/16″ (5mm)
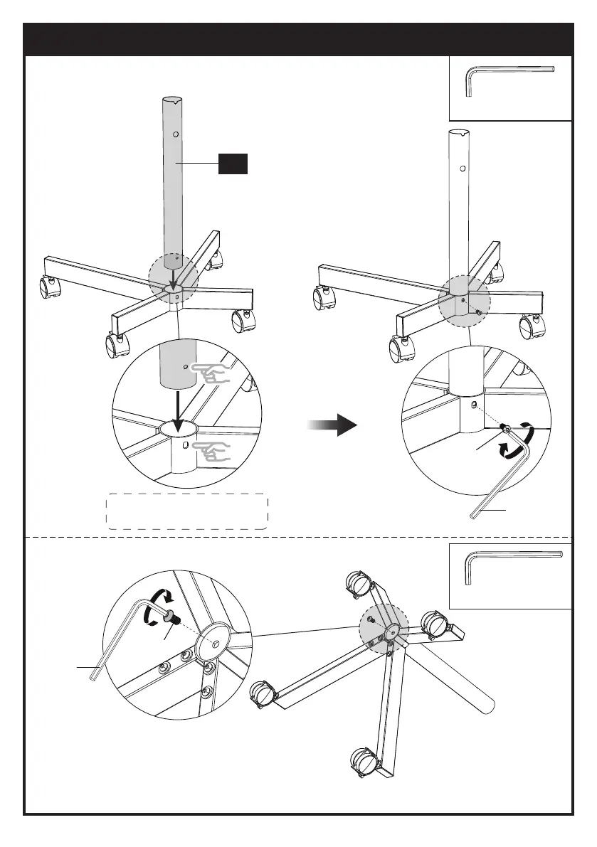
Slide the lower pole [04] into the base, then secure them.
Step 4 Secure the Poles to the Base
[Z-A]
[Z-G]
Note the position of
screw holes in this step.
[Z-C]
[Z-F]
04
12

Related product manuals