EasyManua.ls Logo

Pfaff 3371-1 series - Page 72

Pfaff 3371-1 series
74 pages
To Next Page IconTo Next Page
To Next Page IconTo Next Page
To Previous Page IconTo Previous Page
To Previous Page IconTo Previous Page
Loading...
72
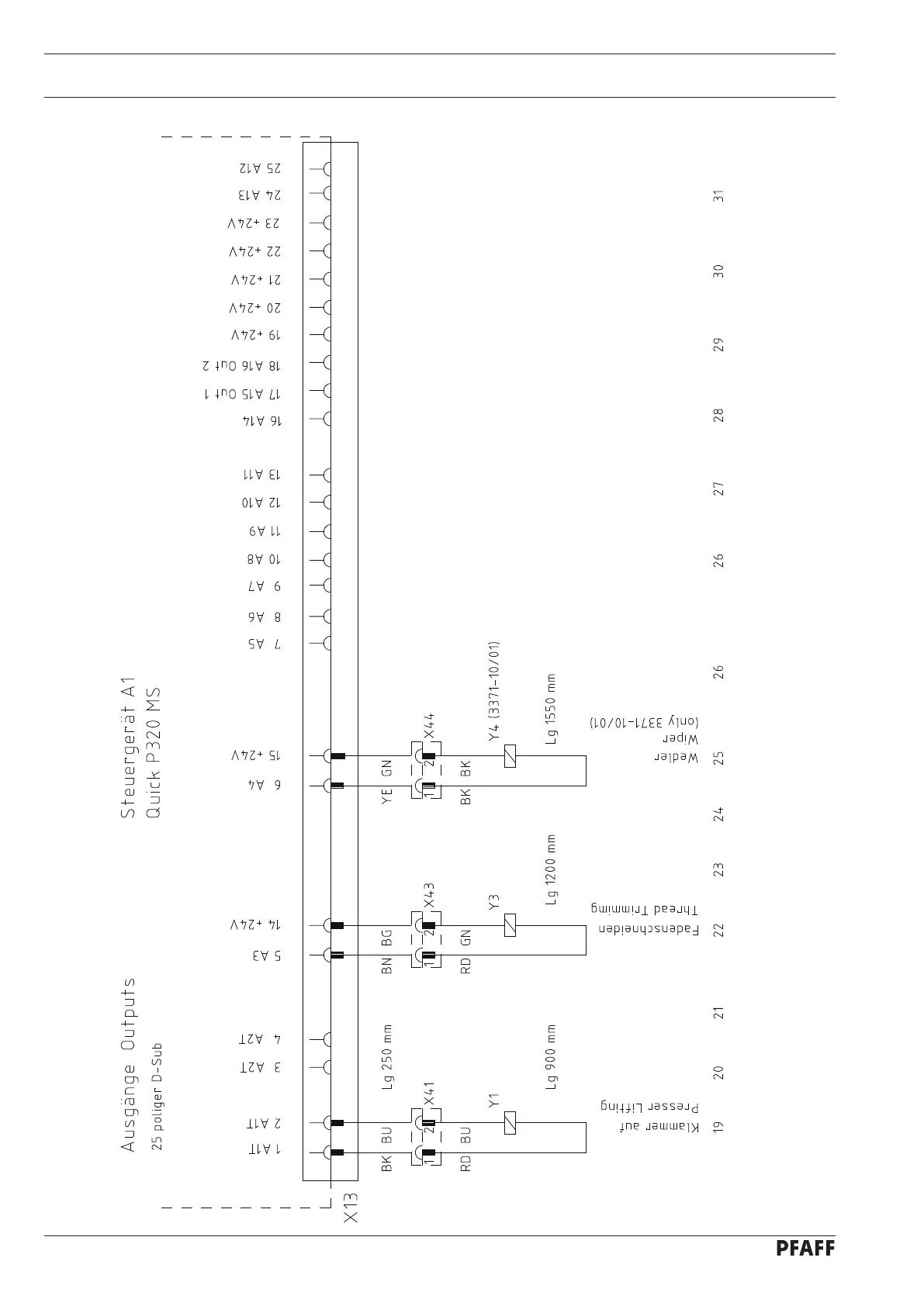
Circuit diagrams Version 07.07.06 91-191 506-95 Page 4

Table of Contents

Other manuals for Pfaff 3371-1 series

Related product manuals