Commissioning
11
No
B
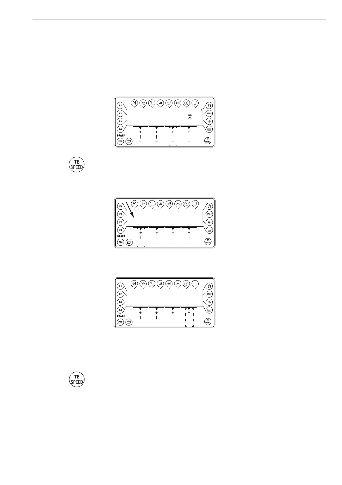
● Press the TE/Speed key to call up the parameter input function.
● Select the technician level B (value "1") with parameter "798", see Chapter 2.03.04
Selecting the user level.
● By pressing the corresponding +/- key select the parameter group "700".
● Sew a stitch by operating the pedal.
● Turn the balance wheel in the direction of sewing until the needle point is level with the
top edge of the needle plate.
● Press the TE/Speed key to take over the setting and to conclude the input.
3 Commissioning
3.01 Basic position of the machine drive
● Switch on the machine.
4000 PUL 30%
2.0mm
Speed
No
700 0
TE
B
B
No VAL
798 1
TE