EasyManua.ls Logo

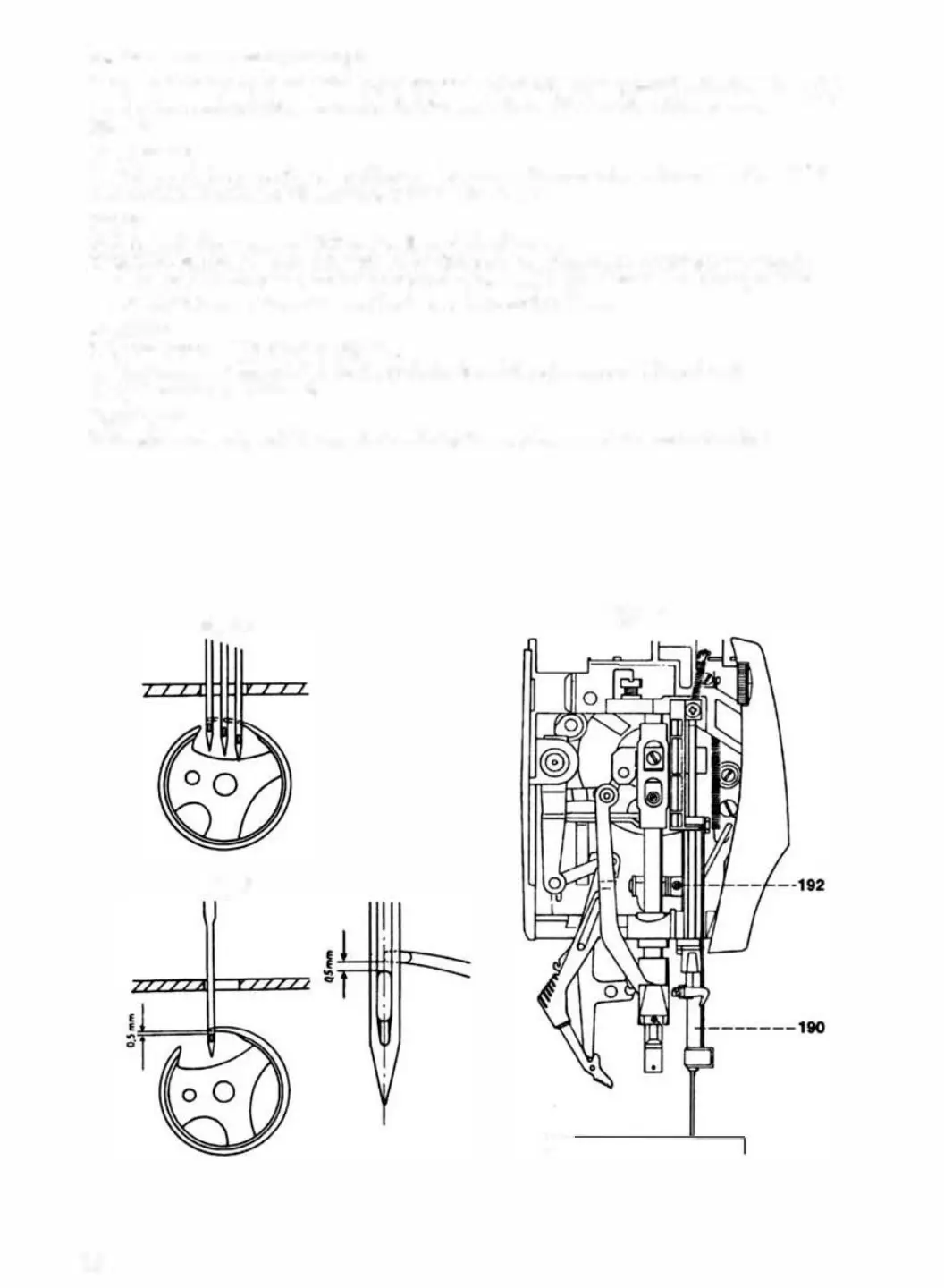
Pfaff Creative 7550 - Needle Bar Height

Pfaff Creative 7550
116 pages
Print Icon
To Next Page IconTo Next Page
To Next Page IconTo Next Page
To Previous Page IconTo Previous Page
To Previous Page IconTo Previous Page
Loading...
 needle 
           
         
  


          
            

e          
e      
          
             

            

     
       ,     
   

            

 
 
r


Other manuals for Pfaff Creative 7550

Related product manuals