EasyManua.ls Logo

Pfaff EXPRESSION 2014 - Changing the Control Board with Keys

Pfaff EXPRESSION 2014
112 pages
Print Icon
To Next Page IconTo Next Page
To Next Page IconTo Next Page
To Previous Page IconTo Previous Page
To Previous Page IconTo Previous Page
Loading...
74
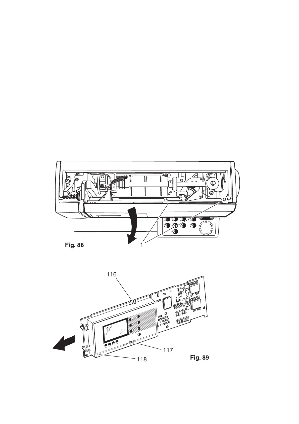
31. Changing the control board with keys
Removal:
Remove the mains lead from the mains socket and from the machine.
Remove the detachable work support.
Remove the folding cover.
Unscrew and remove both torx screws of the housing insert.
Remove the housing insert.
Raise both lugs 1 slightly and remove the facing panel of the front housing panel in the direction
of the arrow (fig. 88).
Raise both lugs 116 and 117 up and down slightly (fig. 89).
Push complete control board 118 slightly to the left until the control board can be removed
from the circuit board.

Table of Contents

Other manuals for Pfaff EXPRESSION 2014

Related product manuals