EasyManua.ls Logo

Pfannenberg DTT 6101 - Assembly with Quick-Change Frame (Option)

Pfannenberg DTT 6101
79 pages
Print Icon
To Next Page IconTo Next Page
To Next Page IconTo Next Page
To Previous Page IconTo Previous Page
To Previous Page IconTo Previous Page
Loading...
ENG
Operating Manual | Roof-mounted Cooling Unit | Multi Controller (MC) 230 V | 086100023d 38/80
4.5.5 Assembly with quick-change frame (option)
The quick-change frame offers maximum flexibility in dismantling and assembly of the cooling units.
The cooling units are therefore quick and easy to assemble. The assembly cut-outs and fastening points are identical with
those for the assembly of the cooling unit alone, see chapter "Dimensions of "Easy-Cut” unit cut-out", Page 33 or "Dimensions
of "Performance-Cut” unit cut-out", Page 34.
The quick-change frame is therefore easy to retrofit, see chapter "Spare parts and accessories", Page 76.
The quick-change frame has a central locking mechanism which guarantees an absolutely secure connection to the DTT-
cooling unit.
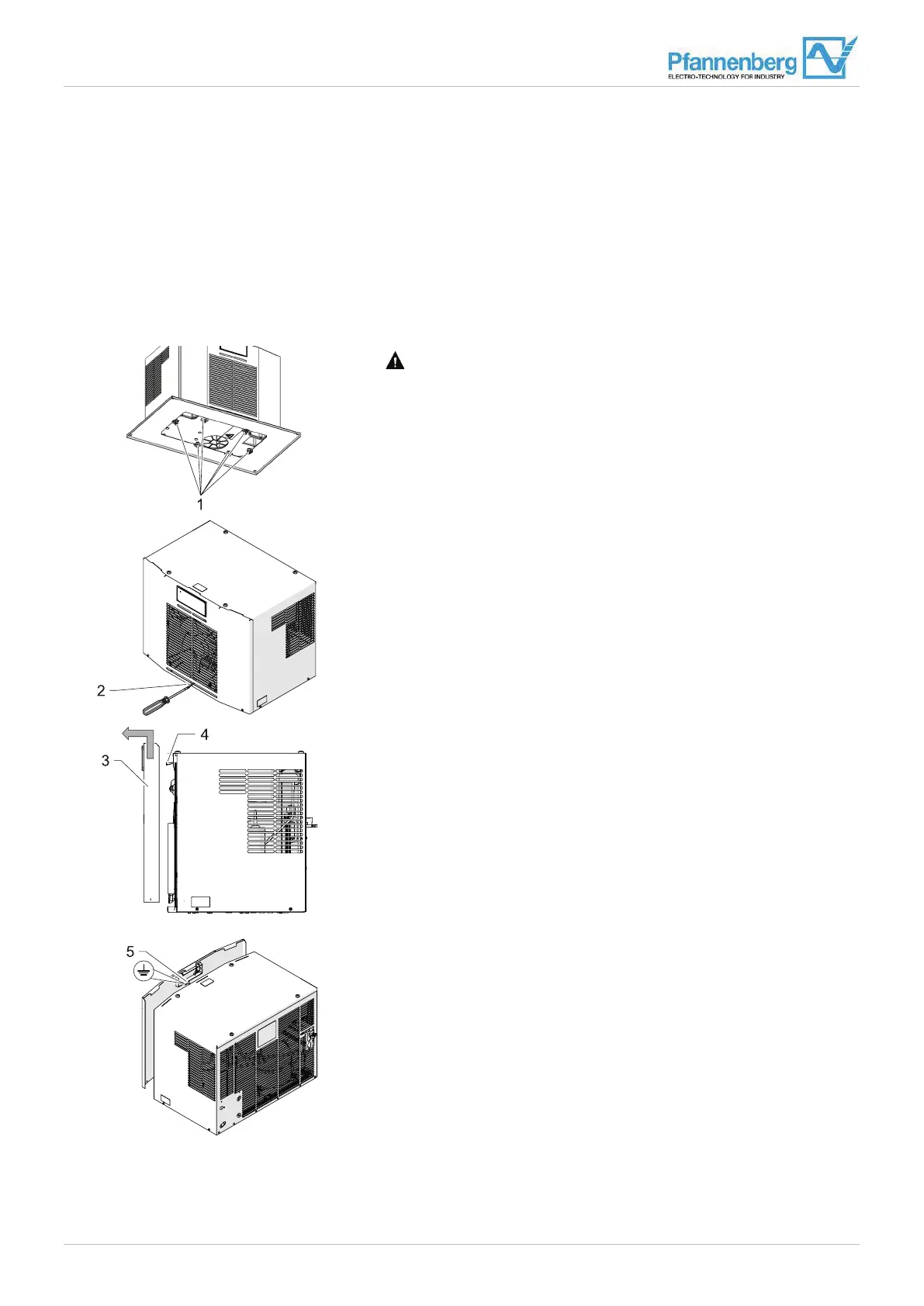
4.5.5.1 Unit preparation removing the front flap
Prerequisites
DANGERDanger to life due to electric shock. Make sure that the
unit is voltage-free.
Wait for the end of the 5-minute discharge phase of the
electrical components. The unit should only be opened
afterwards.
All general requirements are fulfilled, see "General", Page 33.
The cut-outs for the cooling unit are made, see chapter "Making the
assembly cut-out for the DTT-cooling unit", Page 33.
The surface seal to the switch cabinet is applied.
Required tools and materials
Assembly tool, screwdriver
Accessory kit: Bracket (2×), M6×10 mm screws (4×), washers (4×)
Procedure
1. Loosen the six screws (switch cabinet/interior) with the locking
levers (1).
The screws and locking levers are needed later for assembly
of the quick-change frame.
2. Loosen the three screws (2) of the front flap. Turn the screwdriver
counter-clockwise to loosen the screws.
3. Push up the front flap (3) carefully.
ATTENTIONDamage to the unit.
Always disconnect the connecting cable of the display unit or control
unit (4) as well as the earthing cable (5) before removing the front
flap.
4. Pull off the front flap to the front.
The front flap is removed.
Fig. 18: Removing the front flap
G00039

Table of Contents

Related product manuals