EasyManua.ls Logo

Pfeiffer Vacuum UNO - Page 16

Pfeiffer Vacuum UNO
24 pages
Print Icon
To Next Page IconTo Next Page
To Next Page IconTo Next Page
To Previous Page IconTo Previous Page
To Previous Page IconTo Previous Page
Loading...
16
47
48
50
49
129
51
52
56
54
55
51
52
53
179
58
57
174 31 28 34
61
59
68
60
174 28 31 68 66 62
34 70 69
63
64
65
67
59
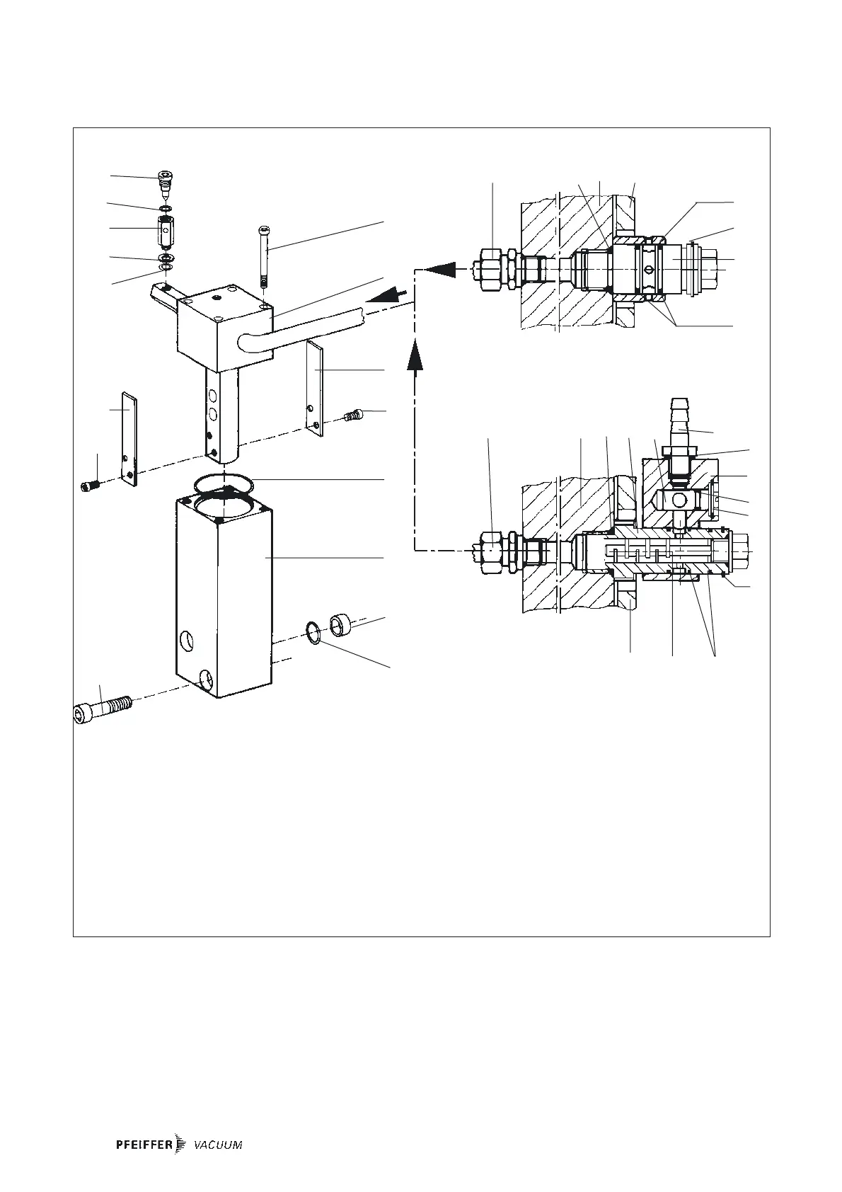
Gas balllast devices and silencer
Gas ballast inlet valve 45 for standard models
Gas ballast inlet valve 45 for
helium-tight and corrosive gas models
13 Silencer
14 Non-return valve
28 Support stand
31 O-ring
34 Cover
47 Valve spindle
48 O-ring
49 O-ring
50 Valve housing
51 Plate spring
52 Screw
53 O-ring
54 Screw
55 Insert
56 Screw
57 O-ring
58 Centering sleeve
59 Circlip
60 O-ring
61 Sleeve
62 Flushing gas connection
63 O-ring
64 Dosing valve unit
65 O-ring
66 Dosing insert
67 Circlip
68 Valve housing
69 O-ring
70 Rohr
129 Centering ring
174 Screw connection
179 Housing non-return valve

Related product manuals