EasyManua.ls Logo

Philips 58PUT6604/79 - Page 36

Philips 58PUT6604/79
85 pages
Print Icon
To Next Page IconTo Next Page
To Next Page IconTo Next Page
To Previous Page IconTo Previous Page
To Previous Page IconTo Previous Page
Loading...
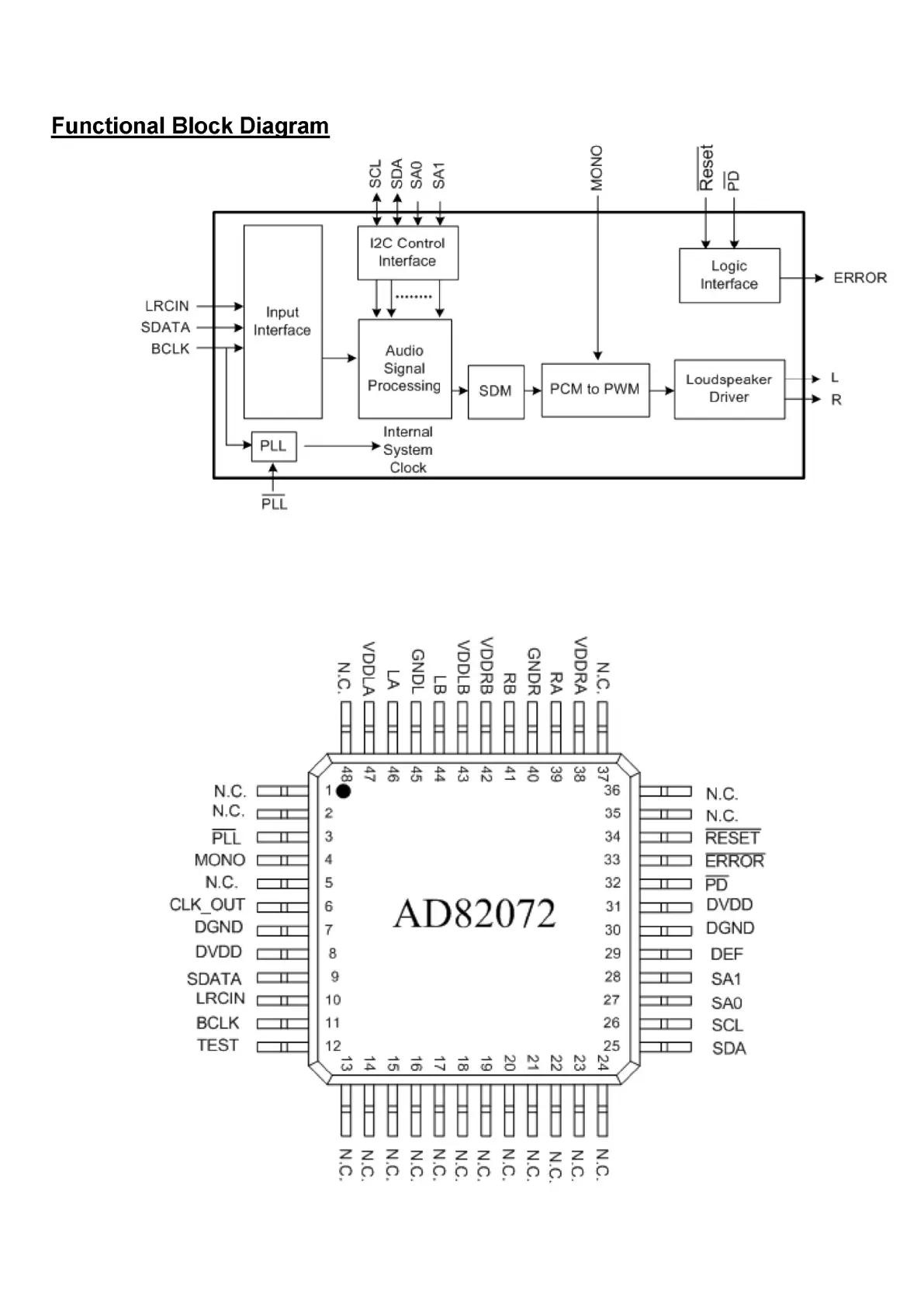
8.2 AD82072-LG48NRY (IC U601--Audio)

Related product manuals