EasyManua.ls Logo

Philips ID937 - Low Battery Warning; Out of Range Warning

Philips ID937
58 pages
Print Icon
To Next Page IconTo Next Page
To Next Page IconTo Next Page
To Previous Page IconTo Previous Page
To Previous Page IconTo Previous Page
Loading...
17
EN
Install
2. A charging animation on the handset indicates that the battery is charging.
3. Leave it there until the batteries are fully charged (at least 24 hours).
4. The handset is fully charged when the charging animation stops and is displayed.
Low battery warning
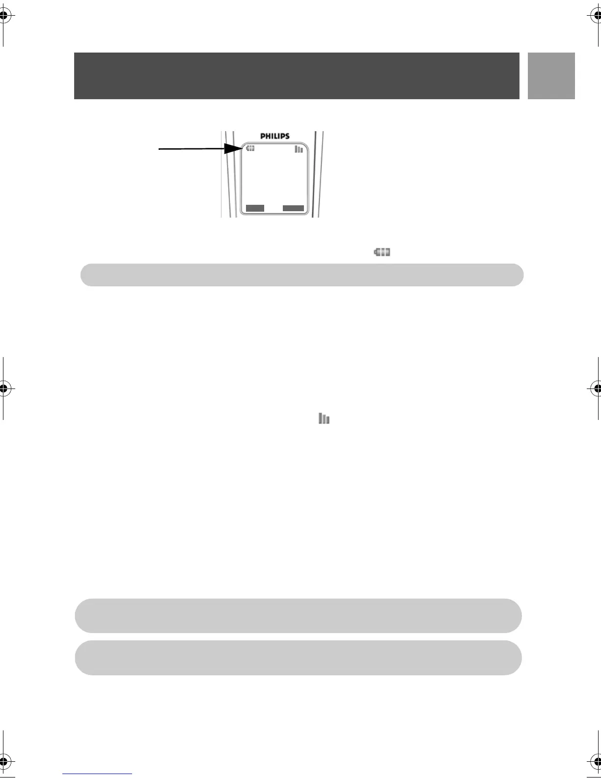
The battery level is shown at the top left of the handset screen. When the battery level becomes low, an
empty battery icon is displayed on the screen.
If the battery level becomes exceedingly low, the phone automatically switches off and any function in progress
will not be saved.
Out of range warning
The indoor and outdoor range of the phone is up to 50 metres and 300 metres respectively. When the
handset moves beyond operation range, the antenna icon will blink.
Configure your ID937
Before you use your ID937, you need to configure it according to the country of use. After charging it for a few
minutes, the word WELCOME appears in various languages. Follow these steps to configure your phone:
1. Scroll : to the word WELCOME in your preferred language and press mSELECT.
2. Scroll
: to your country.
3. Press
mSELECT to confirm your selection.
4. Scroll
: to your operator (if necessary).
5. Press
mSELECT again to confirm your selection.
6. The default line settings and menu language for the selected country will be automatically configured.
Philips
1
08-08
MENU
06:00pm
REDIAL
The handset must be charged for at least 24 hours before using it for the first time.
You cannot make outgoing calls or receive incoming calls without first defining your country
selection.
Depending on your country, the WELCOME screen may not appear. In this case, you are not
required to select your country/operator/language settings.
ID937_IFU_EN_US.book Page 17 Thursday, February 8, 2007 4:16 PM

Table of Contents

Related product manuals