EasyManua.ls Logo

Philips M335 - Phone Component Identification; Handset Controls and Functions

Philips M335
40 pages
Print Icon
To Next Page IconTo Next Page
To Next Page IconTo Next Page
To Previous Page IconTo Previous Page
To Previous Page IconTo Previous Page
Loading...
5EN
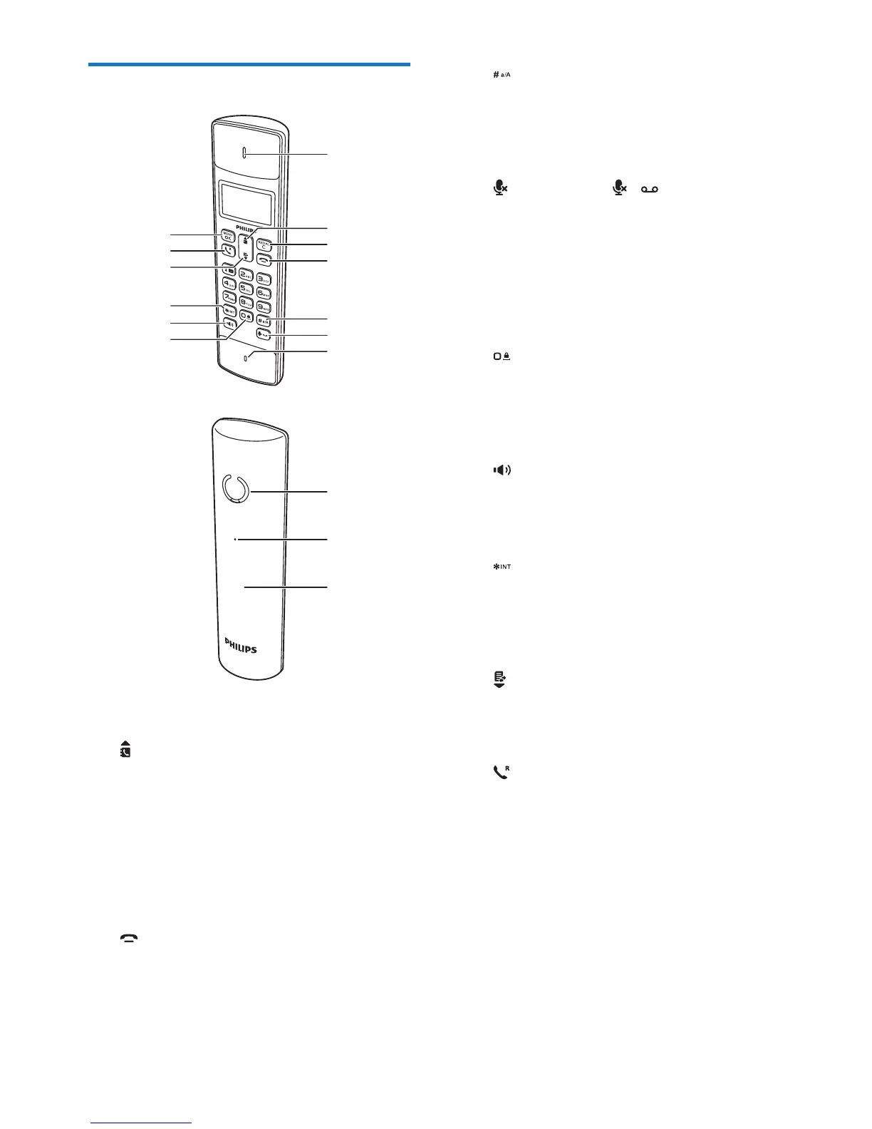
Overview of the phone
a Earpiece
b
Scroll up on the menu.
Increase the earpiece/speaker volume.
Access the phonebook.
c REDIAL/C
Delete text or digits.
Cancel operation.
Access the redial list.
d
End the call.
Exit the menu/operation.
Press and hold to switch the handset
on or off.
a
d
c
b
f
e
g
h
i
j
k
l
m
n
o
p
e
Press and hold to enter a pause when
making a call.
Switch to upper/lower case during
editing.
f (for M330) or / (for M335)
Mute or unmute the microphone.
Access to the answer machine menu in
standby mode (for M335 only).
Listen to new messages from the
answering machine (for M335 only).
g Microphone
h
Press to enter a space during text
editing.
Press and hold to lock/unlock the
keypad in standby mode.
i
Turn the speaker phone on/off.
Make and receive calls through the
speaker.
j
Press and hold to make an intercom
call (for multi-handset version only).
Set the dial mode (pulse mode or
temporary tone mode).
k
Scroll down on the menu.
Decrease the earpiece/speaker volume.
Access the call log.
l
Make and receive calls.
Recall key (This function is network
dependent.)
m MENU/OK
Access the main menu.
Conrm selection.
Enter the options menu.
Select the function displayed on the
handset screen directly above the key.
n Loudspeaker
o LED indicator

Table of Contents

Other manuals for Philips M335

Related product manuals