EasyManua.ls Logo

Philips MCD280/21M - Handling Chip Components; General Handling and Precautions; ESD and Safety Warnings; Post-Service Procedures

Philips MCD280/21M
31 pages
Print Icon
To Next Page IconTo Next Page
To Next Page IconTo Next Page
To Previous Page IconTo Previous Page
To Previous Page IconTo Previous Page
Loading...
1 - 1
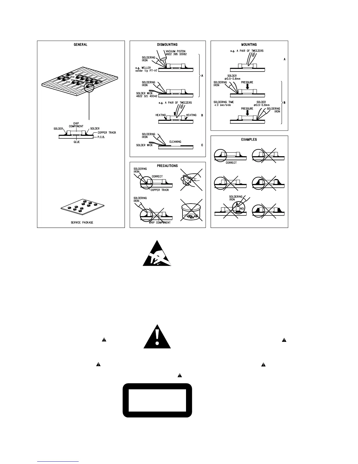
HANDLING CHIP COMPONENTS
© WARNING
All ICs and many other semiconductors are susceptible to
electrostatic discharges (ESD). Careless handling during
repair can reduce life drastically.
When repairing, make sure that you are connected with the
same potential as the mass of the set via a wristband with
resistance. Keep components and tools at this potential.
f ATTENTION
Tous les IC et beaucoup d«autres semi-conducteurs sont
sensibles aux dcharges statiques (ESD). Leur longvite
pourrait tre considrablement courte par le fait qu«aucune
prcaution nst prise  leur manipulation.
Lors de rparations, s«assurer de bien tre reli au mme
potentiel que la masse de l«appareil et enfileer le bracelet
serti d«une rsistance de scurit.
Veiller  ce que les composants ainsi que les outils que l«on
utilise soient galement  ce potentiel.
d WARNUNG
Alle ICs und viele andere Halbleiter sind empfindlich
gegenber elektrostatischen Entladungen (ESD).
Unsorgfltige Behandlung im Reparaturfall kann die
Lebensdauer drastisch reduzieren.
Sorgen Sie dafr, da§ Sie im Reparaturfall ber ein Puls-
armband mit Widerstand mit dem Massepotential des
Gertes verbunden sind.
Halten Sie Bauteile und Hilfsmittel ebenfalls auf diesem
Potential.
ñ WAARSCHUWING
Alle IC«s en vele andere halfgeleiders zijn gevoelig voor
electrostatische ontladingen (ESD).
Onzorgvuldig behandelen tijdens reparatie kan de levensduur
drastisch doen vermindern. Zorg ervoor dat u tijdens reparatie
via een polsband met weerstand verbonden bent met hetzelfde
potentiaal als de massa van het apparaat.
Houd componenten en hulpmiddelen ook op ditzelfde potentiaal.
i AVVERTIMENTO
Tutti IC e parecchi semi-conduttori sono sensibili alle scariche
statiche (ESD).
La loro longevit potrebbe essere fortemente ridatta in caso di
non osservazione della pi grande cauzione alla loro
manipolazione. Durante le riparationi occorre quindi essere
collegato allo stesso potenziale che quello della massa
delpparecchio tramite un braccialetto a resistenza.
Assicurarsi che i componenti e anche gli utensili con quali si
lavora siano anche a questo potenziale.
©
Safety regulations require that the set be restored to its
original condition and that parts which are identical with
those specified be used.
Safety components are marked by the symbol
i
Le norme di sicurezza estigono che l«apparecchio venga
rimesso nelle condizioni originali e che siano utilizzati i
pezzi di ricambiago identici a quelli specificati.
Componenty di sicurezza sono marcati con
ñ
Veiligheidsbepalingen vereisen, dat het apparaat in zijn
oorspronkeliijke toestand wordt teruggebracht en dat
onderdelen, identiek aan de gespecificeerde, worden toegepast.
De Veiligheidsonderdelen zijn aangeduid met het symbool
s Varning !
Osynlig laserstrlning nr apparaten r ppnad och
sprren r urkopplad. Betrakta ej strlen.
Advarsel !
Usynlig laserstrling ved bning nr sikkerhedsafbrydere
er ude af funktion. Undg udsaettelse for strling.
ß Varoitus !
Avatussa laitteessa ja suojalukituksen ohitettaessa olet alttiina
nkymttmlle laseristeilylle. l katso steeseen !
f
"Pour votre scurite, ces documents doivent tre utiliss par
des spcialistes agrs, seuls habilits  rparer votre
appareil en panne".
ESD
SAFETY
d
Bei jeder Reparatur sind die geltenden Sicherheitsvor-
schriften zu beachten. Der Originalzustand des Gertes
darf nicht verndert werden. Fr Reparaturen sind Original-
ersatzteile zu verwenden.
Sicherheitsbauteile sind durch das Symbol markiert.
f
Les normes de scurit exigent que l‘appareil soit remis
 l‘tat d‘origine et que soient utilises les pices de
rechange identiques  celles spcifies.
Les composants de scurit sont marqus
CLASS 1
LASER PRODUCT
©
DANGER: Invisible laser radiation when open.
©
After servicing and before returning the set to customer
perform a leakage current measurement test from all
exposed metal parts to earth ground, to assure no
shock hazard exists.
The leakage current must not exceed 0.5mA.
AVOID DIRECT EXPOSURE TO BEAM.
HANDLING CHIP COMPONENTS

Related product manuals