EasyManua.ls Logo

Philips MCM330 - Overview of the Main Unit

Philips MCM330
16 pages
Print Icon
To Next Page IconTo Next Page
To Next Page IconTo Next Page
To Previous Page IconTo Previous Page
To Previous Page IconTo Previous Page
Loading...
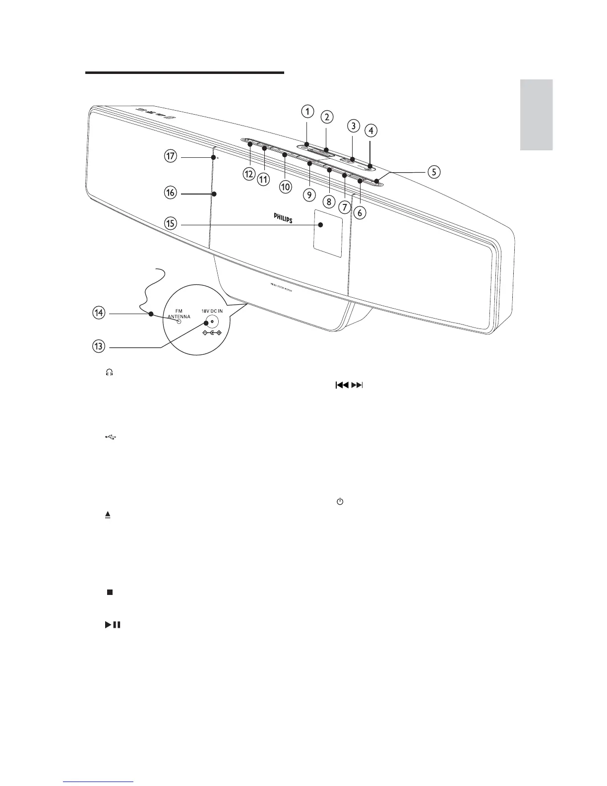
7
j /
Skip to the previous/next track.
Search within a track/ disc/USB.
Tune to a radio station.
Select 12 hour or 24 hour format.
Adjust time.
k SOURCE
Select a source.
l
Turn on the unit, or switch to 
standby mode, or switch to Eco
Power standby.
m DC IN
Jack for the supplied AC adaptor.
n FM antenna
Improve FM reception.
o Display panel
Show current status.
p Disc compartment door
q iR
Remote sensor.
Overview of the main unit
a
Jack for the headphone.
b SD/MMC
Jack for a SD/MMC card.
c
Jack for a USB mass storage device. 
d MP3 LINK
Audio input jack (3.5mm ) for an 
external audio device.
e
Open/close the disc compartment.
f LIVING SOUND
Turn on or off the Living Sound 
effect.
g
Stop play or erase a program.
h
Start or pause play.
i VOLUME + / -
Adjust volume.
English
EN

Related product manuals