EasyManua.ls Logo

Philips NN-SD681S - Packing and Accessories

Philips NN-SD681S
42 pages
Print Icon
To Next Page IconTo Next Page
To Next Page IconTo Next Page
To Previous Page IconTo Previous Page
To Previous Page IconTo Previous Page
Loading...
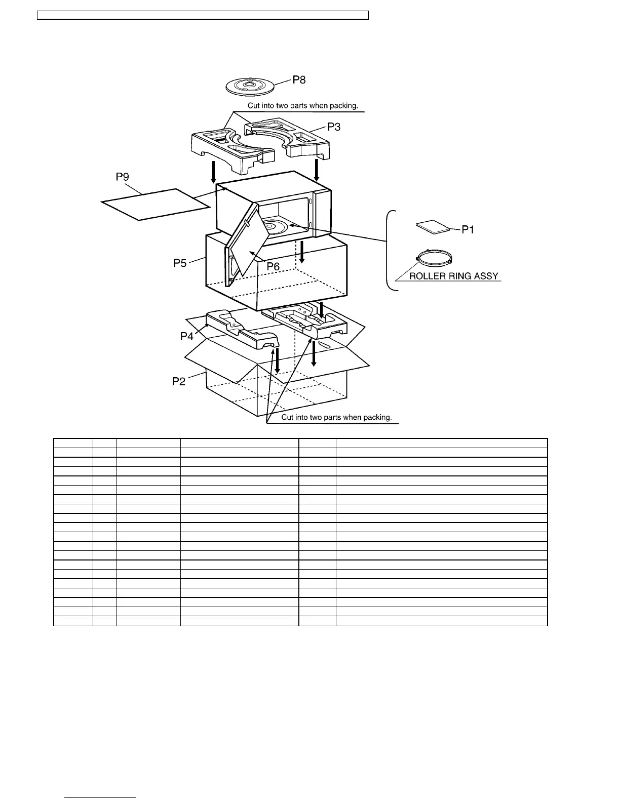
9.6. PACKING AND ACCESSORIES
Ref. No. Part No. Part Name & Description Pcs/Set Remarks
P1 F00039Y40AP INSTRUCTION MANUAL 1 SD681S
P1 F00039Y00AP INSTRUCTION MANUAL 1 SN671S,SN661S,SN651B,SN651W
P1 F00039Y10AP INSTRUCTION MANUAL 1 SA661S,SA651S,SA631B,SA631W
P2 F01029Y40SAP PACKING CASE, PAPER 1 SD681S
P2 F01029Y80SAP PACKING CASE, PAPER 1 SN671S
P2 F01029Y30SAP PACKING CASE, PAPER 1 SN661S
P2 F01029Y20SAP PACKING CASE, PAPER 1 SA661S
P2 F0102BD20SAP PACKING CASE, PAPER 1 SA651S
P2 F01029Y00BAP PACKING CASE, PAPER 1 SN651B
P2 F01029Y00HAP PACKING CASE, PAPER 1 SN651W
P2 F01029Y10BAP PACKING CASE, PAPER 1 SA631B
P2 F01029Y10HAP PACKING CASE, PAPER 1 SA631W
P3 F01049Y00AP UPPER FILLER 1
P4 F01059Y00AP LOWER FILLER 1
P5 F01068100XN P.E.BAG 1
P6 F01078J00XN DOOR SHEET 1
P8 F06015Q00AP COOKING TRAY 1
P9 F01924T00AP SHEET 1
36
NN-SD681S / NN-SN671S / NN-SN661S / NN-SA661S / NN-SA651S / NN-SN651B / NN-SN651W / NN-SA631B / NN-SA631W

Table of Contents

Related product manuals