EasyManua.ls Logo

Phonic ICON 300 - Front Panel Description

Phonic ICON 300
14 pages
Print Icon
To Next Page IconTo Next Page
To Next Page IconTo Next Page
To Previous Page IconTo Previous Page
To Previous Page IconTo Previous Page
Loading...
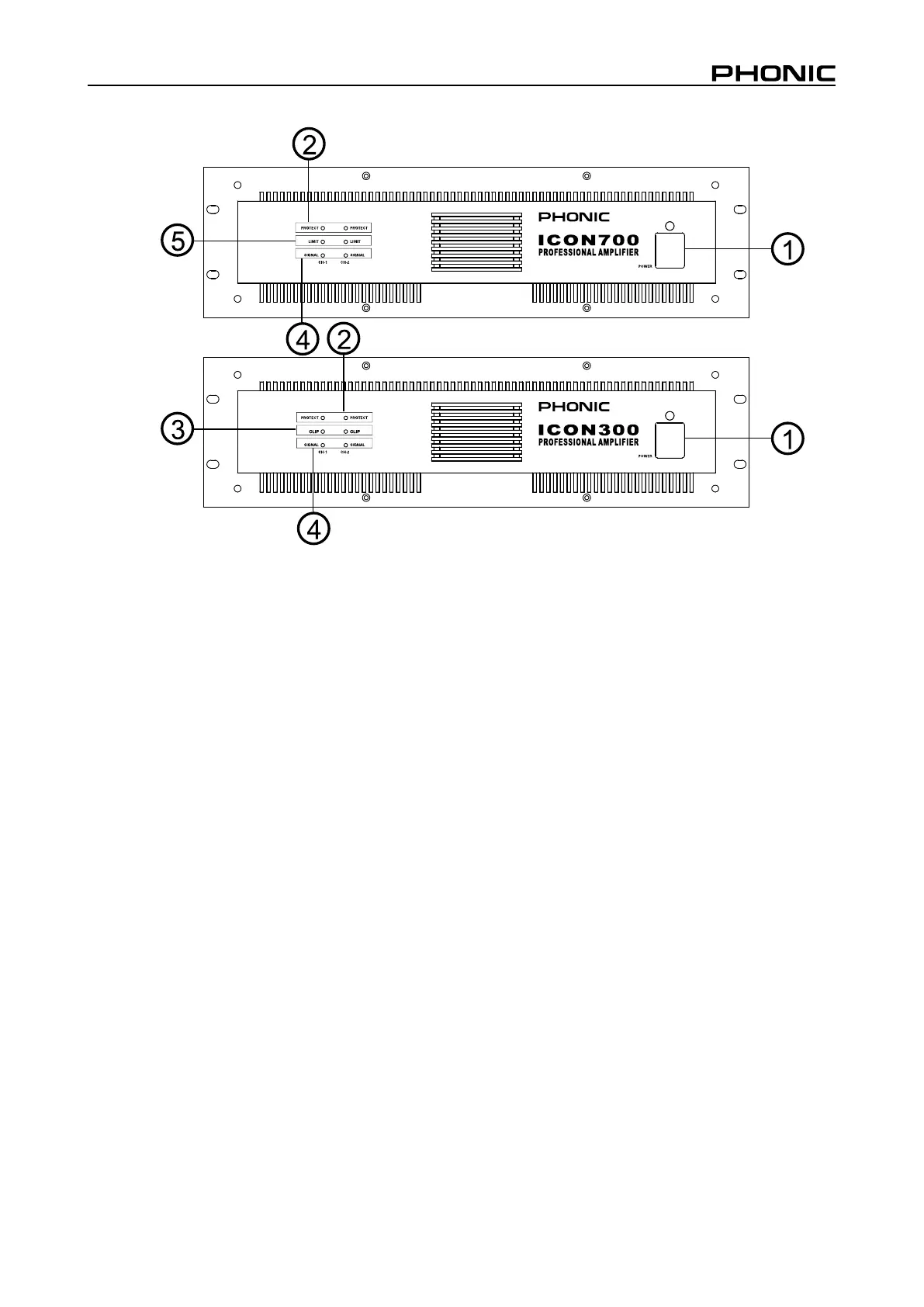
5ICON 300/700
FRONT PANEL DESCRIPTION
1. Power Switch
The power ON/OFF switch with an LED indicator.
2. Protect LED Indicator
The Icon 300/700 features several types of
protection to prevent damage to the circuitry during
turn-on or fault conditions. If the LEDs light up, this
indicates that one of the various protections is
safeguarding the different sections of the amplifier
and in these cases, the power output is normally
switched off until normal operating conditions are
restored.
Loudspeaker protection: the power-
on protection relay prevents damaging
thumps to the speakers as the power
comes on. When the amp is switched
on, the protect LED will light for a few
seconds, and then go out, indicating that
the relay has closed.
Thermal protection on the heat sink: If
the amp overheats, thermal shutdown
protects the circuitry until the temperature
is reduced to a safe level.
Short circuit protection: The Protect LED
Indicator will also light up if the speaker
terminals are short-circuited, or the
impedance of the load is too low. In these
circumstances, the Protect LED will stay
on until the fault conditions are rectified.
Some protection situations require the amplifier
to be switched off and then back on for normal
operating conditions to be restored.
3. Clip LED Indicator (Icon 300)
The LEDs light up at clipping status, whenever any
conditions occur that could cause problems for the
amp, such as an out-of-spec load and waveform
distortion. Because of the Icon's ability to enter
and exit clipping with as few audible artifacts as
possible, you may not hear any distortion even if
the indicator flashes. In general, a few flashes every
now and then will not be a problem. However, if the
LEDs flash often or remain on for any extended
period of time, then turn down the volume controls
to reduce the signal level going to the Icon amp. If
this doesn't solve the problem, check your output
cables and speakers.
4.Signal “Status” LED Indicator
Each channel of the Icon 300/700 features a signal
LED to show that there is an audio signal at the
input to the channel. The threshold for the indicator
is -26dB, which should be enough to avoid noise
triggering the LED.
5. Limit LED Indicator (Icon 700)
The Icon 700 has a built-in limiter on each channel
to prevent clipping. Should the signal reach a level
high enough to cause clipping (ie. output power is
over 400W per channel), the limiter momentarily
reduces the input signal level, just enough to
prevent it. The limit LED lights whenever this
occurs.

Related product manuals