EasyManua.ls Logo

Pilotcar PC4 - Battery Mounting and Wiring

Default Icon
48 pages
Print Icon
To Next Page IconTo Next Page
To Next Page IconTo Next Page
To Previous Page IconTo Previous Page
To Previous Page IconTo Previous Page
Loading...
34
MAINTENANCE
Mounting the battery
--------------------------------------
ATTENTION
While working with the batteries, do not put key or similar materials on accumulator
terminals. Sparkings may cause battery to explode.
--------------------------------------
1. Place the battery holding plates and tighten with 7-9 Nm torque as shown.
A FORWARD GEAR
B BATTERY
C BATTERY HOLDING PLATE
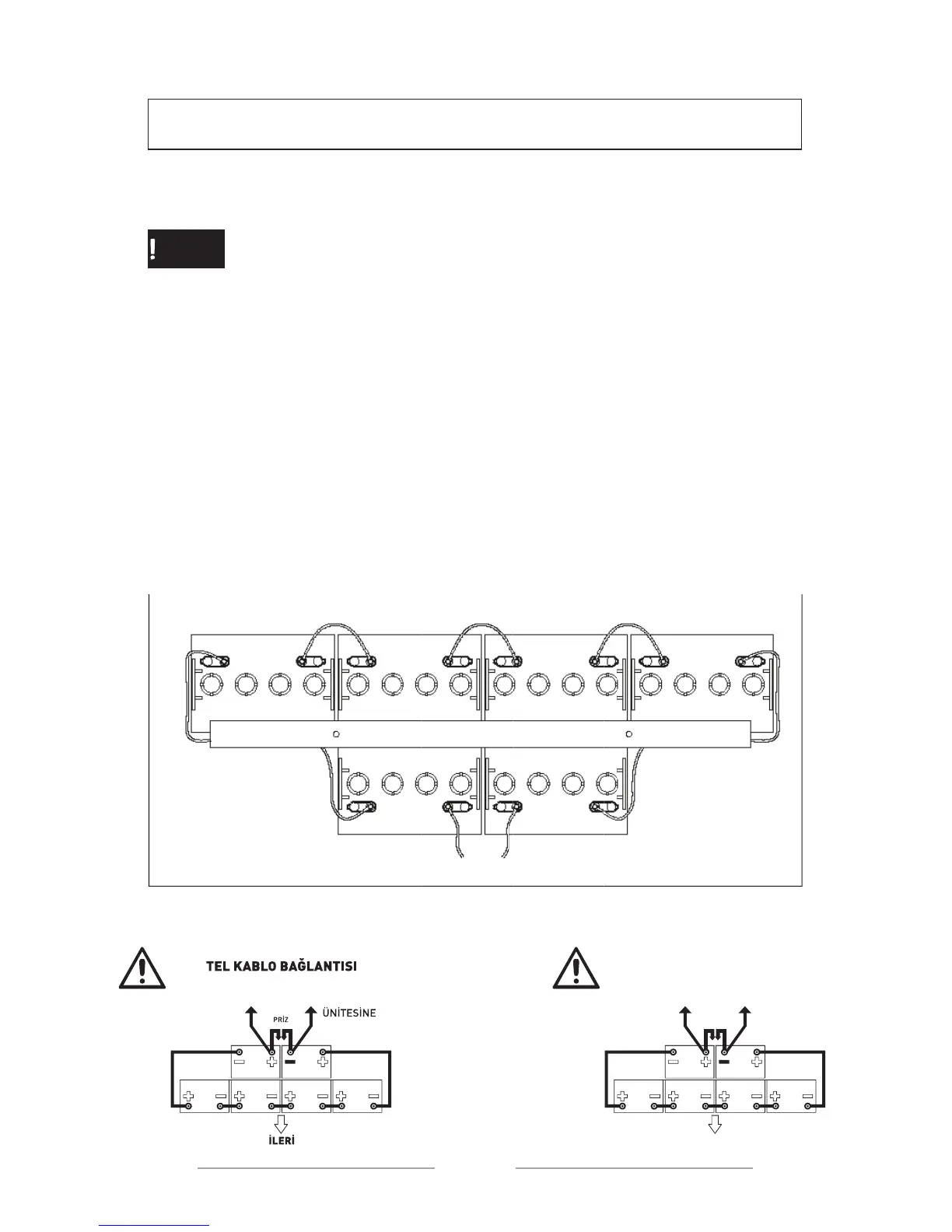
2. Place the conductor wires and tighten with 7-9 Nm torque as shown.
AKÜ MONTAJI VE
KONTAKTÖRE
(+)
MOTOR
KONTROL
(B-)
BATTERY INSTALLATION AND
WIRE LEAD CONNECTION
TO CONTACTOR
(+)
FORWARD
TO MOTOR
CONTROL UNIT
ASSY.
(B-)
RECEPTACLE
35
MAINTENANCE
--------------------------------------
ATTENTION
While working with the batteries, do
not put key or similar materials on
accumulator terminals. Sparkings may
cause battery to explode
--------------------------------------
-----------------------------------------
CAUTION !
Do not excessively tighten the battery
holding screws. Excessive power may
damage battery case.
--------------------------------------
Changing the Fuse
--------------------------------------
ATTENTION
Make sure to use the identified fuse.
Use of incorrect fuse may damage the
electric system and risk of fire may
arise.
--------------------------------------
CAUTION !
While chaging the fuse, in order
to prevent accidental short circuit
formation, make sure that the ignition
key is turned off.
--------------------------------------
1. Place the serial fuse holder on the
main wiring harness next to the
pulling button.
2. Remove the fuse holder cover.
3. Pull the fuse outside, control
and replace with a new one if
necessary.
A
B
A Fuse Holder
B Fuse

Related product manuals