EasyManua.ls Logo

Pittsburgh 68892 - Pump Assembly Diagram; Hydraulic Pump Components Diagram

Pittsburgh 68892
16 pages
Print Icon
To Next Page IconTo Next Page
To Next Page IconTo Next Page
To Previous Page IconTo Previous Page
To Previous Page IconTo Previous Page
Loading...
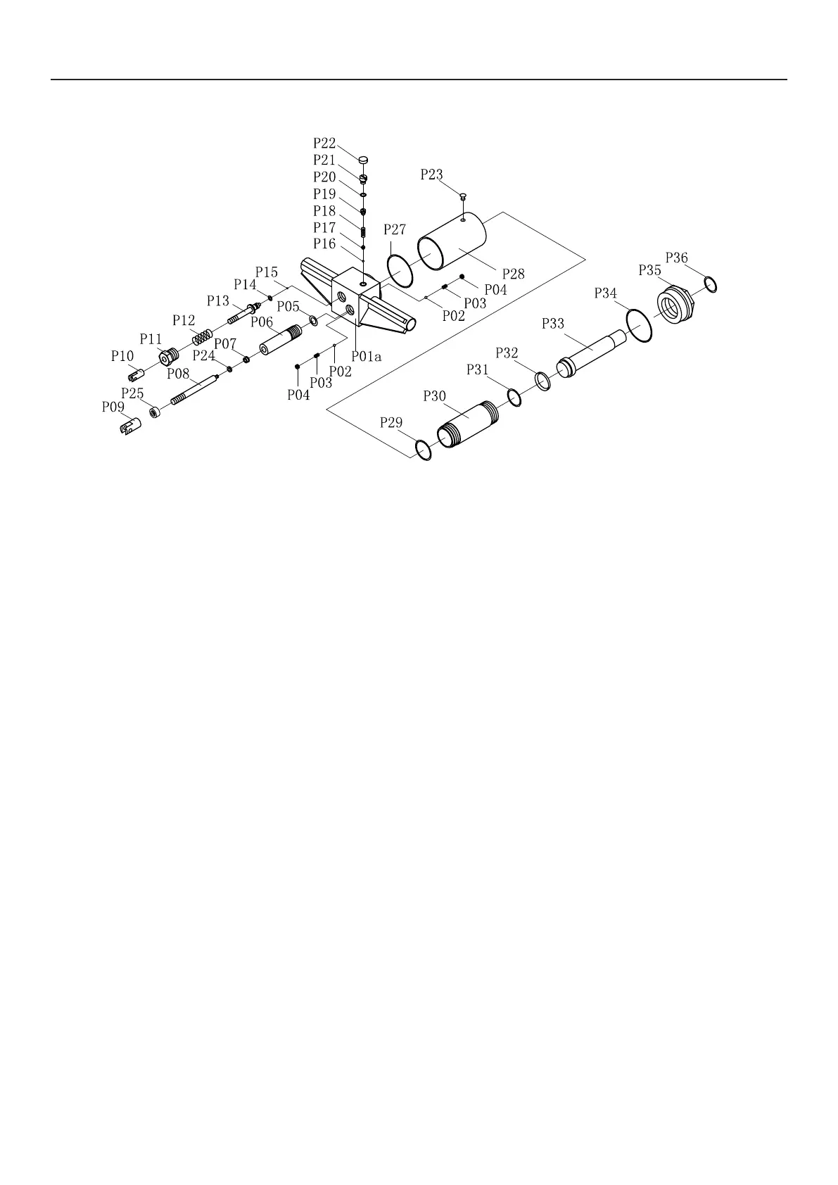
Page 13For technical questions, please call 1-888-866-5797.68892
Pump Assembly Diagram

Related product manuals