EasyManua.ls Logo

Porter-Cable PXCM301 - Pulley Alignment

Porter-Cable PXCM301
76 pages
Print Icon
To Next Page IconTo Next Page
To Next Page IconTo Next Page
To Previous Page IconTo Previous Page
To Previous Page IconTo Previous Page
Loading...
16- ENG
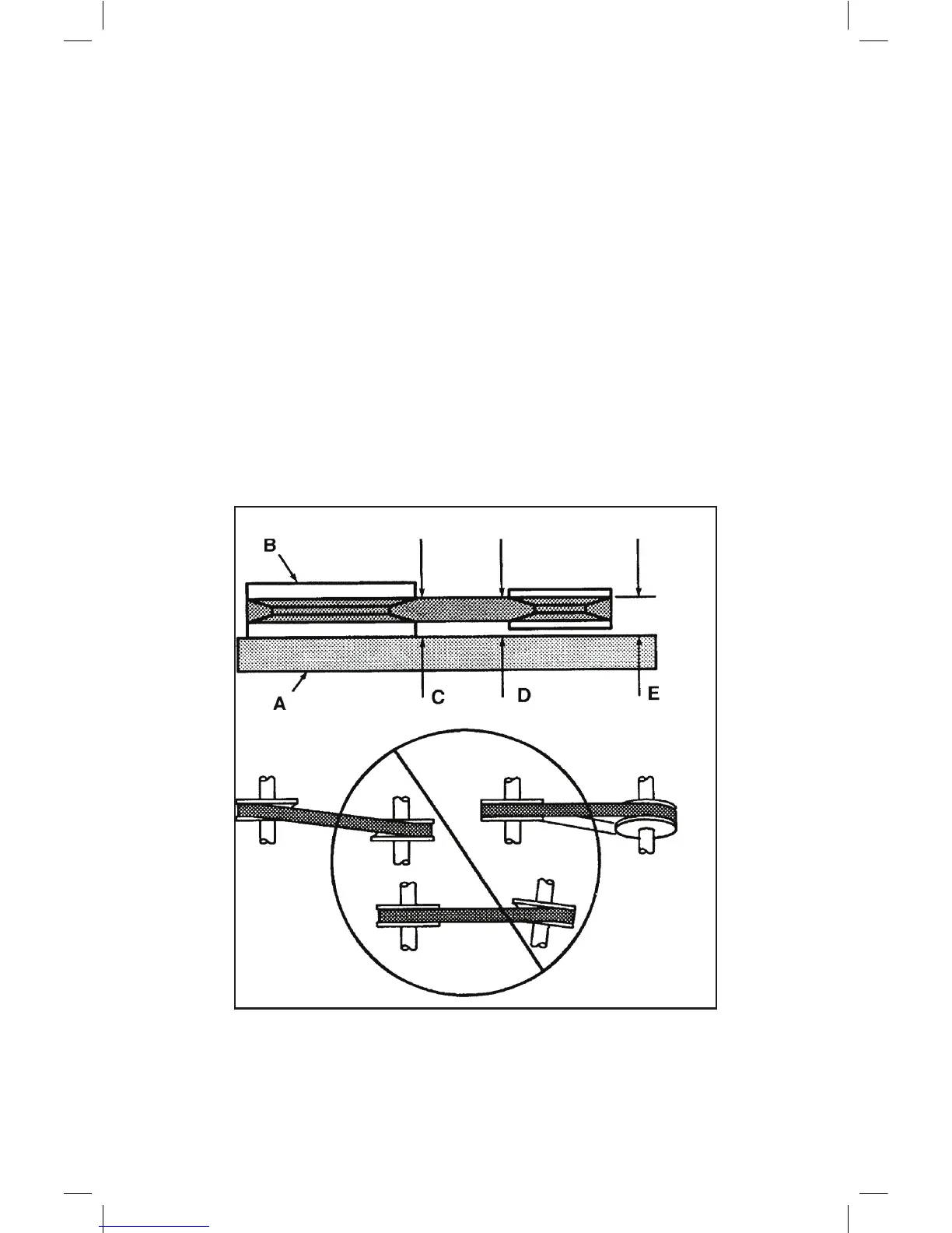
PULLEY ALIGNMENT
To check pulley alignment, remove the belt guard and place a straightedge
(see A) against the pump flywheel (see B) (See Fig. 9). Measure and record the
distance from the straightedge to the edge of the drive belt at point C. Then
measure the distance from the straightedge to the edge of the drive belt again
at points D and E. Both distances should be the same as at point C. If D or E
are different from C, there is a misalignment which must be corrected before
the compressor is run. To correct a pulley misalignment, use the following
procedure.
1. Remove the belt guard.
2. Loosen the motor mounting bolts.
3. Loosen the setscrew on the motor pulley.
4. Align the motor pulley with the pump flywheel (C = D = E).
5. Retighten the motor pulley setscrew.
6. Adjust the proper belt tension.
7. Retighten the motor mounting bolts.
8. Reinstall the belt guard. All moving parts must be guarded.
Fig. 9

Table of Contents

Related product manuals