EasyManua.ls Logo

POWER DESIGNS TP340 - Page 11

POWER DESIGNS TP340
32 pages
Print Icon
To Next Page IconTo Next Page
To Next Page IconTo Next Page
To Previous Page IconTo Previous Page
To Previous Page IconTo Previous Page
Loading...
AC
VOLT
METER
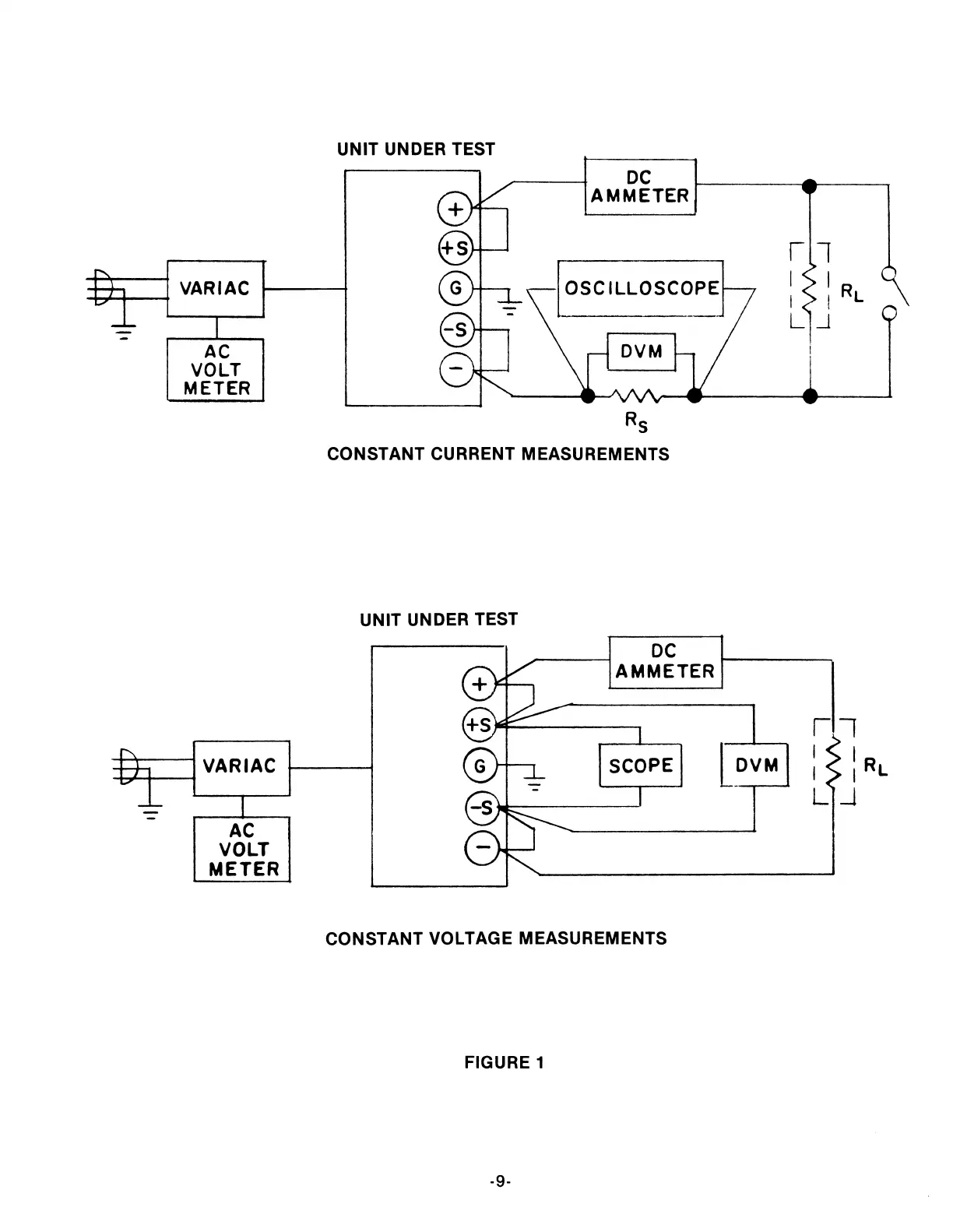
UNIT UNDER TEST
DC
AMMETER
Rs
CONSTANT CURRENT MEASUREMENTS
UNIT UNDER TEST
DC
AMMETER
VARIAC
---
SCOPE
AC
VOLT
METER
CONSTANT VOLTAGE MEASUREMENTS
FIGURE 1
.g.
[_DVM