EasyManua.ls Logo

Poweramp PR - Page 16

Default Icon
56 pages
Print Icon
To Next Page IconTo Next Page
To Next Page IconTo Next Page
To Previous Page IconTo Previous Page
To Previous Page IconTo Previous Page
Loading...
14
4111-0001 — June 2003
INSTALLATION
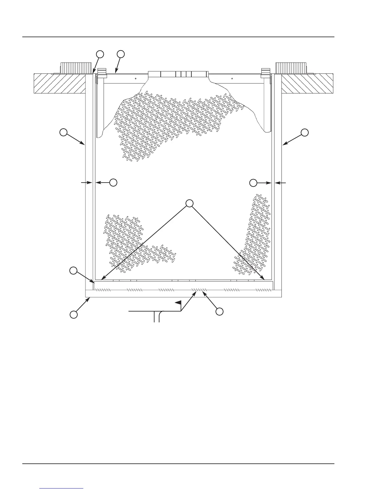
A—Front of Dock Pit
B—Dock Leveler Frame
C—Side Pit Curb Angle
D—Gap [3/4 in. (19 mm)
Minimum]
E—Pry Locations
F—Rear Hinge Frame Angle
G—Rear Pit Curb Angle
H—Flare Bevel Weld,Typical
(To Fit Spacing)
8. With rear hinge frame angle (F) tight against rear
pit curb angle (G), perform/check the following:
Pry between the platform and rear hinge frame
angle at locations (E) to make sure rear edge
of platform is parallel to the rear hinge frame
angle (F).
Gap (D) must exist equally along both sides of
leveler so weather seal (if equipped) will not
bind during dock leveler operation.
9. If gap (D) cannot be obtained equally at both
sides of leveler, grind or add material at the rear
edge of rear hinge frame angle (F) as needed.
10. Allow the dock leveler to rest fully on the shim
stacks. Check that a smooth and level transition
exists between the dock floor and the dock
leveler platform. Add or remove shims as
necessary until a smooth transition is obtained.
11. If leveler cannot be squared and/or made level as
instructed in steps 810, contact Poweramp
Technical Services.
6in.
(152 mm)
3/8 in.
(9.5 mm)
G
H
A
B
E
C
F
C
D
D