EasyManua.ls Logo

ProBreeze PB-AC01 - Page 46

ProBreeze PB-AC01
84 pages
Print Icon
To Next Page IconTo Next Page
To Next Page IconTo Next Page
To Previous Page IconTo Previous Page
To Previous Page IconTo Previous Page
Loading...
1
2
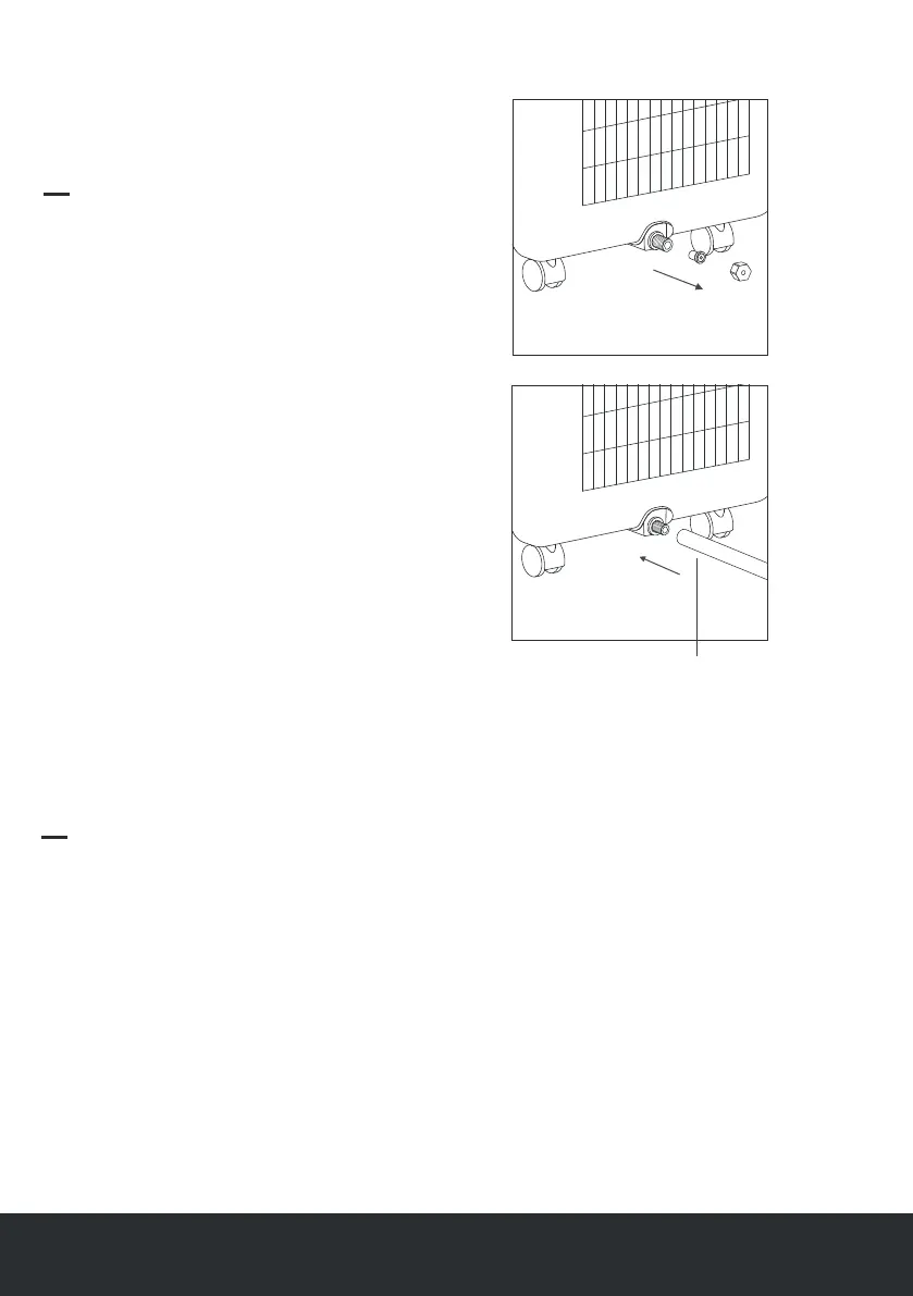
Tuyau d’eau
Dévisser le bouchon d’évacuation, dévisser
l’obturateur d’évacuation et ranger ces deux
accessoires en toute sécurité.
Insérer le tuyau d’eau dans le tuyau d’évacuation
d’eau.
Veiller à ce que l’extrémité du tuyau d’eau
repose dans une vidange appropriée (p. ex. une
évacuation ou un seau).
En cas d'utilisation à long terme il est recommande
de rattacher un tuyau d'eau port permettre une
vidange en continu.
Pour rattacher le tuyau
Remarque : lorsque l’appareil est réglé sur une
température élevée, il est recommandé de raccorder
le tuyau d’eau car le réservoir d’eau se remplira plus
rapidement qu’avec un réglage sur une température
faible.
Raccordement du tuyau
d’eau pour une vidange
en continu
1.
2.
3.
Éteindre l’appareil et le débrancher de la prise de
courant. Utiliser un chiffon doux et sec pour
retirer la poussière ou les débris de la surface
extérieure de l'appareil.
Nettoyage général :
1.
2.
3.
Nettoyage
45 | Français
Nettoyage du tuyau d’évacuation d’air
chaud :
Retirer le tuyau d’évacuation d’air chaud à
l’arrière de l’appareil ainsi que le cadre
d’étanchéité/la toile de calfeutrage de
fenêtre associé.
Utiliser un chiffon doux et sec pour retirer
la poussière ou les débris.
Remettre en place le tuyau d’évacuation
d’air chaud.

Related product manuals