EasyManua.ls Logo

ProBreeze PB-D-23 - Page 59

ProBreeze PB-D-23
104 pages
Print Icon
To Next Page IconTo Next Page
To Next Page IconTo Next Page
To Previous Page IconTo Previous Page
To Previous Page IconTo Previous Page
Loading...
Español | 59 of 104
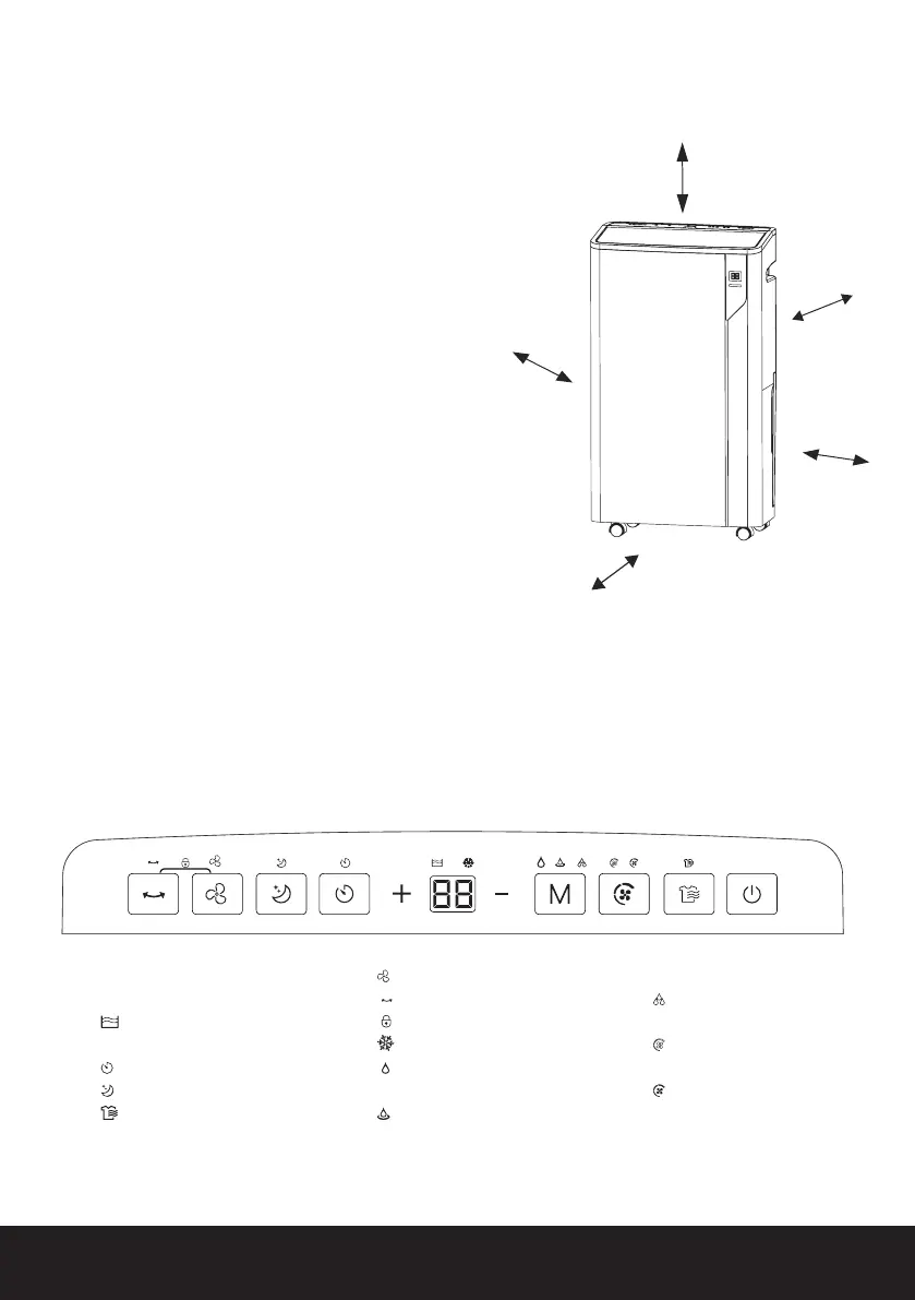
COLOCACIÓN DE SU UNIDAD
--
Esta unidad está diseñada para funcionar a
temperaturas entre 5ºc y 35ºc
Coloque la unidad en un área donde la temperatura
no descienda por debajo de 5ºc. A temperaturas
inferiores a 5ºc, las bobinas pueden congelarse, lo que
reduce el rendimiento.
Coloque la unidad sobre una supercie lisa y nivelada,
lo sucientemente fuerte como para soportar la
unidad con un depósito de agua lleno.
Deje al menos 50cm de espacio por debajo de la
entrada de aire (en la parte posterior de la unidad)
para una buena circulación del aire. Deje al menos 20
cm de espacio en todos los demás lados de la unidad
para una buena circulación de aire.
Coloque la unidad lejos de una secadora de ropa, un
calentador o un radiador.
Para obtener mejores resultados, coloque la unidad
en un espacio cerrado y cierre todas las puertas,
ventanas y aberturas exteriores.
Si se coloca cerca de un área de almacenamiento
cerrada (como un armario o un armario), asegúrese
de que haya una circulación de aire adecuada.
Hay cuatro ruedas unidas a la unidad para facilitar su
transporte. No fuerce las ruedas para moverse sobre
la alfombra.
20cm
20cm
20cm
20cm
50cm
INSTRUCCIONES DE FUNCIONAMIENTO
--
PANEL DE CONTROL
Luces indicadoras
1. Depósito de agua
lleno
2. Temporizador
3. Suspensión
4. Secar ropa
5. Ventilación
6. Oscilación
7. Bloqueo infantil
8. Descongelar
9. Deshumidicación
normal
10. Deshumidicación
continua
11. Deshumidicación
fuerte
12. Baja velocidad del
ventilador
13. Alta velocidad del
ventilador

Related product manuals