EasyManua.ls Logo

Procom ML250TPA - Gas Supply Plumbing Details; Required Gas Connection Parts; Diagrams for Gas Setup

Default Icon
36 pages
Print Icon
To Next Page IconTo Next Page
To Next Page IconTo Next Page
To Previous Page IconTo Previous Page
To Previous Page IconTo Previous Page
Loading...
www.usaprocom.com
200045-01A
14
INSTALLATION
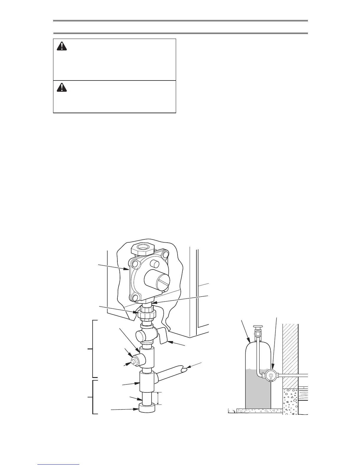
Figure 14 - External Regulator
with Vent Pointing Down
External
Regulator with
Vent Pointing
Down
Propane/LP
Supply Tank
CAUTION: Avoid damage to
regulator. Hold gas regulator
with wrench when connecting
into gas piping and/or ttings.
CAUTION: Use pipe joint seal-
ant that is resistant to Propane/
LP Gas.
Before installing heater, make sure you have
the items listed below:
external regulator for propane/LP unit only
(supplied by installer)
piping (check local codes)
sealant (resistant to natural gas and pro-
pane/LP gas)
equipment shutoff valve*
test gauge connection*
sediment trap
tee joint
pipe wrench
exible gas hose (check local codes)
* A CSA design-certied equipment shutoff
valve with 1/8” NPT tap is an acceptable al-
Figure 13 - Gas Connection
* Purchase the optional CSA design-certied
equipment shutoff valve from your dealer.
Equipment
Shutoff Valve
Ground
Joint Union
Pressure
Regulator
3/8" NPT
Pipe Nipple
Tee Joint
Reducer
Bushing to
1/8" NPT
1/8" NPT
Plug Tap
Test Gauge
Connection*
Sediment
Trap
Tee Joint
Pipe Nipple
Cap
3" Minimum
From External
Regulator
(11" W.C. to
14" W.C.
Pressure)
ternative to test gauge connection. Purchase
the optional CSA design certied equipment
shutoff valve from your dealer.
Typical Inlet Pipe Diameters
Models up to 20,000 BTU/hr use 3/8" black
iron pipe or greater. Models 25,000 BTU/hr
and higher use 1/2" black iron pipe or greater.
Installation must include an equipment shutoff
valve, union, and plugged 1/8" NPT tap. Lo-
cate NPT tap within reach for test gauge hook
up. NPT tap must be upstream from heater
(see Figure 13).
IMPORTANT: Install an equipment shutoff
valve in an accessible location. The equip-
ment shutoff valve is for turning on or shutting
off the gas to the appliance.
Apply pipe joint sealant lightly to male threads.
This will prevent excess sealant from going
into pipe. Excess sealant in pipe could result
in clogged heater valves.
T
he installer must supply an external regula-
tor. The external regulator will reduce incom-
ing gas pressure. You must reduce incoming
gas pressure to between 11" and 14" of water.
If you do not reduce incoming gas pressure,
heater regulator damage could occur. Install
external regulator with the vent pointing down

Related product manuals