EasyManua.ls Logo

Procon VHD 55 - Connecting a Two-Wire (4÷20 Ma) Remote Transmitter; Analogue Input

Default Icon
24 pages
Print Icon
To Next Page IconTo Next Page
To Next Page IconTo Next Page
To Previous Page IconTo Previous Page
To Previous Page IconTo Previous Page
Loading...
H - I - J FREQUENCY CONVERTERS INSTRUCTION MANUAL 0,55 ÷ 200 kW
- 16 -
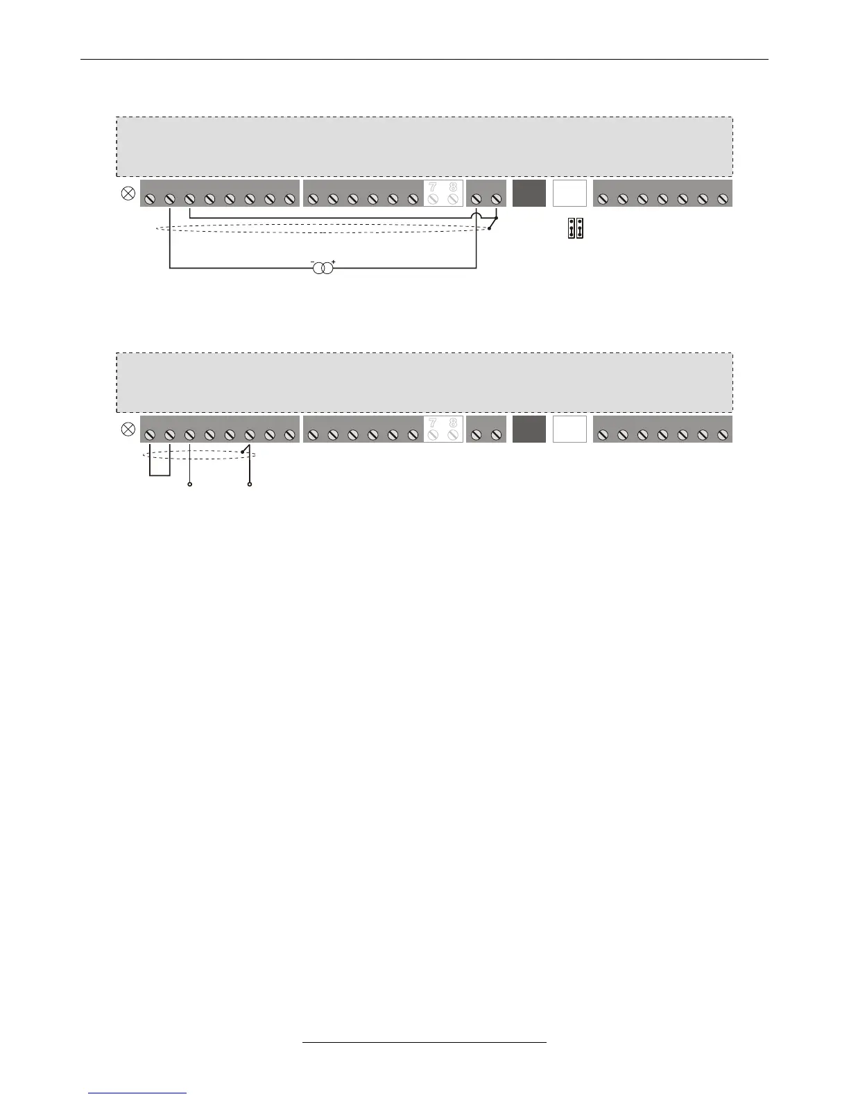
Connecting a two-wire (4 ÷ 20 mA) remote transmitter
1 12 23 4 5 6 7 8
SA SD ST CST CSR
VLD / VHD frequency converter
A1P, A1N jumpers
on the lower two pins
remote transmitter
A1P
A1N
1 2 3 4 5 6 7
SR
1 2 3 4 5 6
+24V/D
±10 V analogue input (option)
1 12 23 4 5 6 7 8
SA SD ST CST CSR
1 2 3 4 5 6 7
SR
1 2 3 4 5 6
±10V GND
VLD / VHD frequency converter

Related product manuals