EasyManua.ls Logo

Proxxon 230/E - Ersatzteilbild

Proxxon 230/E
6 pages
Print Icon
To Next Page IconTo Next Page
To Next Page IconTo Next Page
To Previous Page IconTo Previous Page
To Previous Page IconTo Previous Page
Loading...
- 28 -
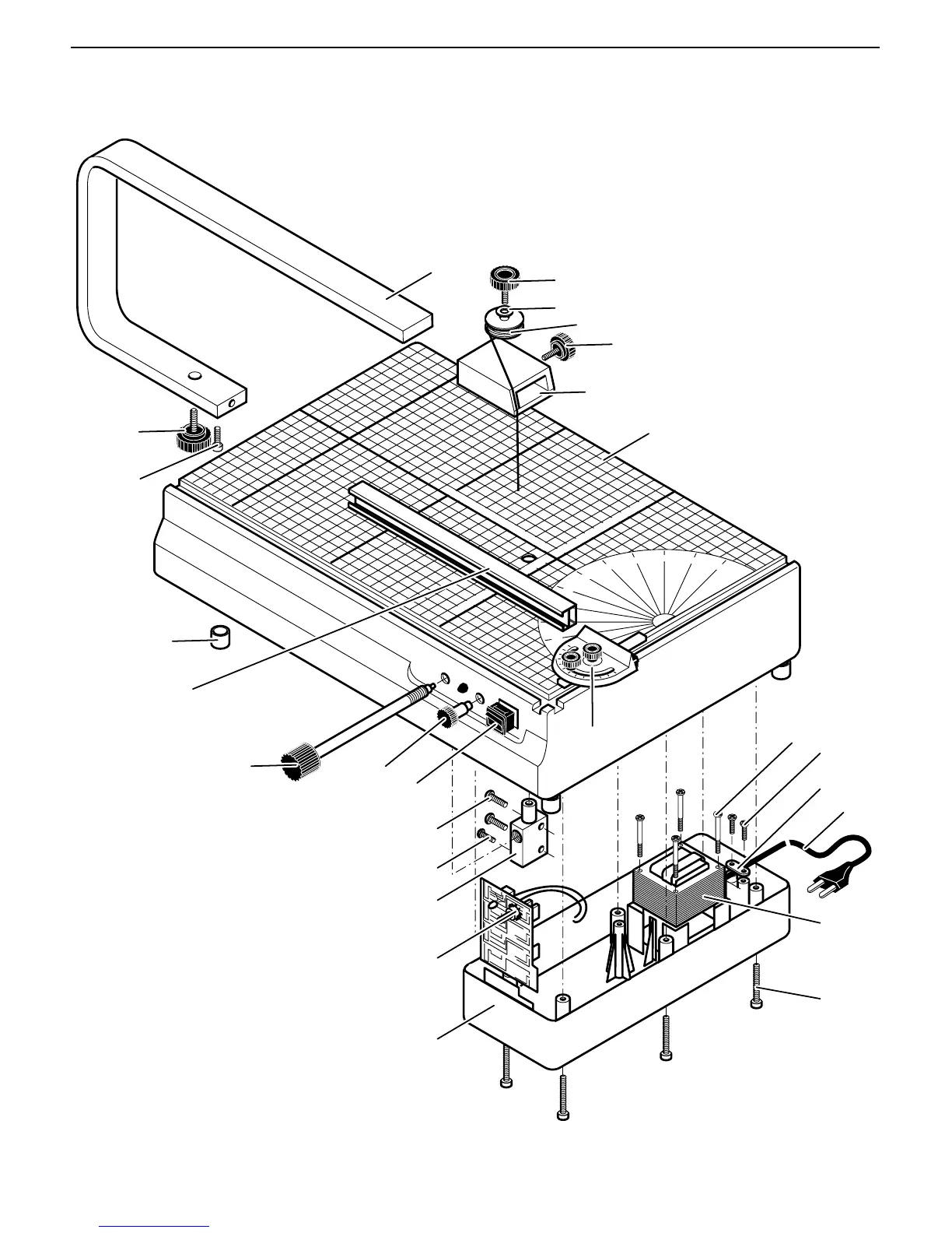
Ersatzteilbild
1
2
3
4
5
0
4
5
30
15
0
15
3
0
45
30
15
15
30
10
20
3
0
40
5
0
60
7
0
8
0
9
0
100
10
20
30
40
50
60
70
80
90
100
1
0
2
0
30
4
0
50
60
70
8
0
9
0
100
1
10
11
9
2
12
26
13
14
15
16
17
18
22
21
25
19
20
23
24
23
3
6
7
8
5

Related product manuals