EasyManua.ls Logo

Pureline PL1616 - Piping; Fittings and Valves

Pureline PL1616
16 pages
Print Icon
To Next Page IconTo Next Page
To Next Page IconTo Next Page
To Previous Page IconTo Previous Page
To Previous Page IconTo Previous Page
Loading...
Piping
1. Larger piping sizes improve pool plumbing.
2. Piping on the suction side of the pump should be the same or larger than the return port.
3. Plumbing on the suction side of the pump should be as short as possible.
4. For most installations, its is recommended you install a valve on both the pump suction and
return lines. This allows you to isolate the pump during routine maintenance. However, the valve,
elbow, or tee installed in the suction line should be no closer to the front of the pump than 5 times
the suction line diameter.
Example: A 2.5” pipe requires a 12.5” straight run in front of the suction inlet of the pump. This will help
the pump prime faster and last longer.
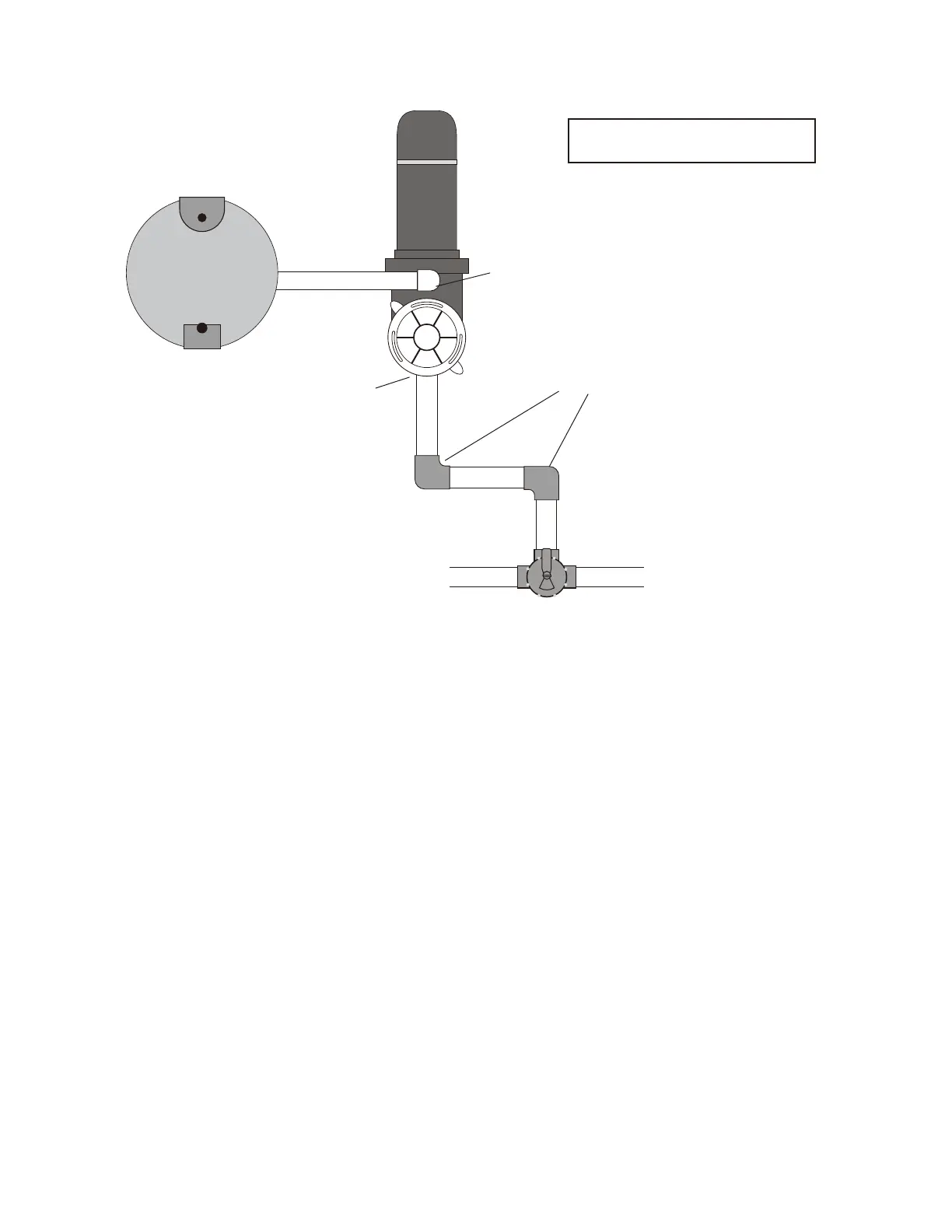
Note: Do NOT install 90-degree elbows directly into the pump inlet or outlet.
Fittings and Valves
1. Do not install 90-degree elbows directly into the pump outlet.
2. Flooded suction systems should have gate valves installed or suction and discharge pipes for
maintenance. However, the suction gate valve should be no closer than 5 times the suction pipe
diameter.
3. Use a check valve in the discharge line when using this pump for any application where there is
significant height to the plumbing after the pump.
4. Be sure to install check valves when plumbing in parallel with another pump. This helps prevent
reverse rotation of the impeller and motor.
Filter
Pump
3 Way Valve
90° on suction side of pump
Ideally no 90° within 12’ of
pump suction port
90°
90°
Filter
Improper Installation
Pump Discharge Port
Pump Suction Port

Related product manuals