EasyManua.ls Logo

Pyramis 201075 - Electronic Timer Ovens

Pyramis 201075
340 pages
Print Icon
To Next Page IconTo Next Page
To Next Page IconTo Next Page
To Previous Page IconTo Previous Page
To Previous Page IconTo Previous Page
Loading...
16
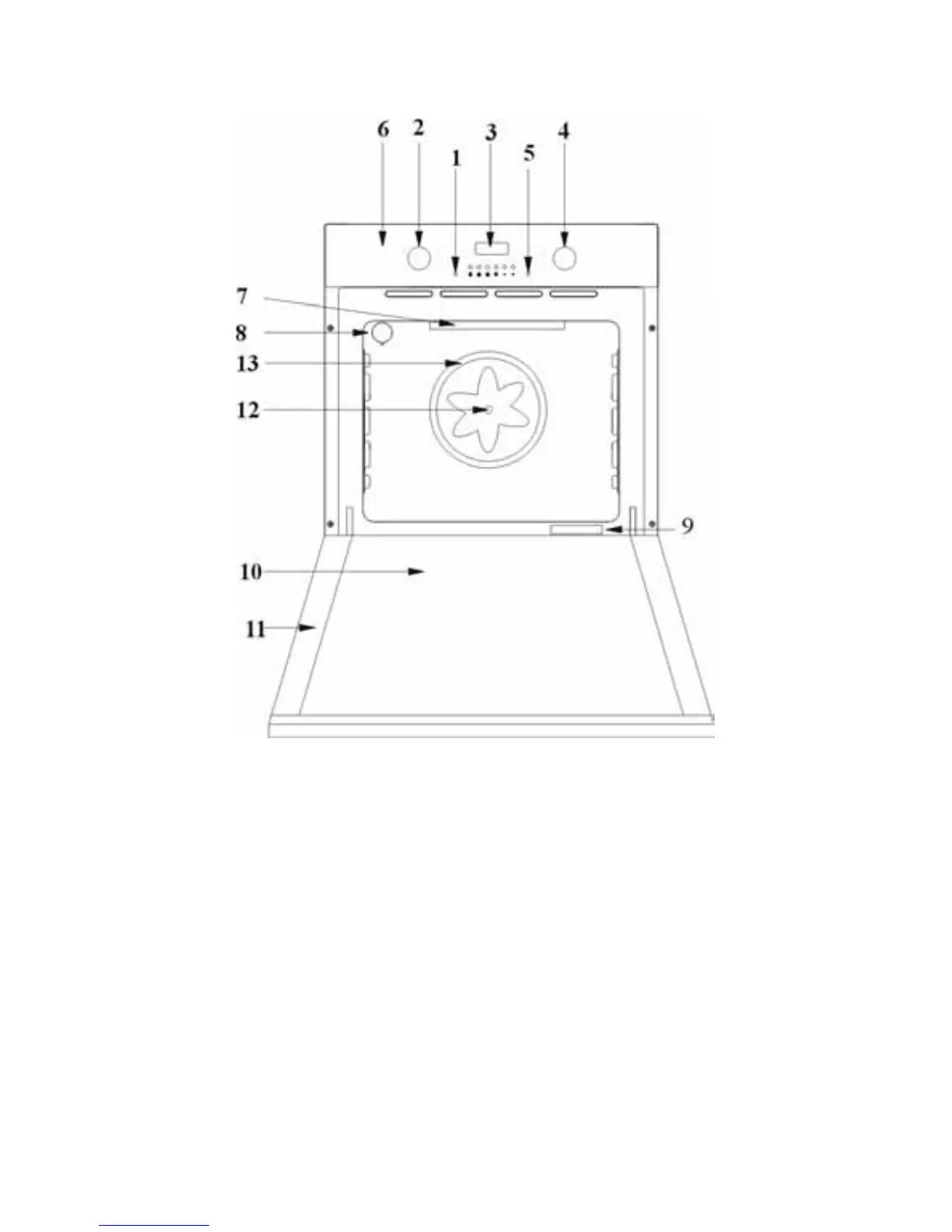
Electronic timer ovens
1. Function warning lamp
2. Function select knob
3. Electronic clock
4. Temperature adjustment knob
5. Temperature warning lamp
6. The control panel
7. Heaters
8. Oven dome light
9. Rating label
10. The inner glass oven door
11. The oven door
12. Turbo fan
13. Turbo heater *
* Only available on some models.
Note: The position of electronic timer may be different from shown.

Table of Contents

Related product manuals