EasyManua.ls Logo

Quadra-Fire 820-0721 - Mobile Home

Quadra-Fire 820-0721
32 pages
Print Icon
To Next Page IconTo Next Page
To Next Page IconTo Next Page
To Previous Page IconTo Previous Page
To Previous Page IconTo Previous Page
Loading...
5700 ACT Wood Stove


R





Double Wall






ent
 


        


 



 


         
      





 Refer to page 6

     pages 7-8  

          


          


 


NOTE:        
       
       

          


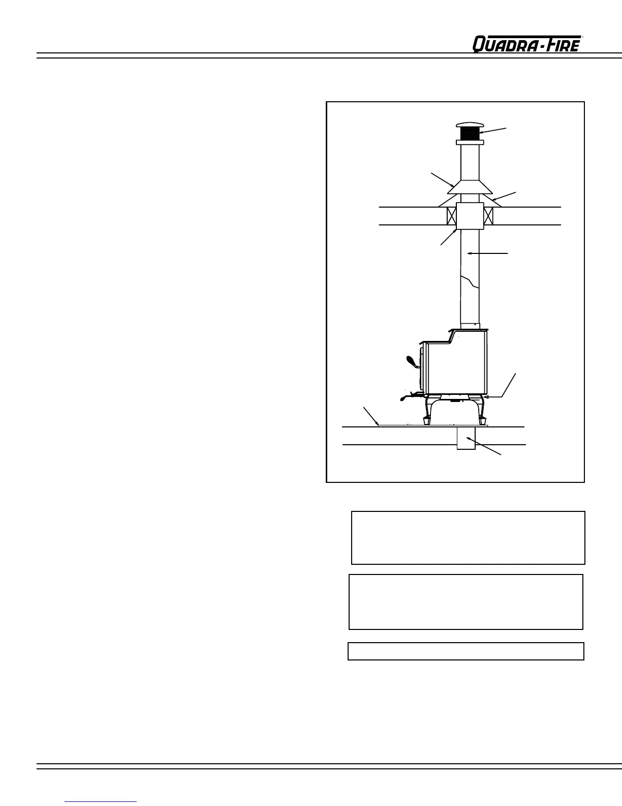
MOBILE HOME INSTALLATION
WARNING: NEVER DRAW COMBUSTION AIR FROM
A WALL, FLOOR OR CEILING CAVITY OR FROM
ANY ENCLOSED SPACE SUCH AS AN ATTIC OR
GARAGE.
CAUTION: THE STRUCTURAL INTEGRITY OF THE
MOBILE HOME FLOOR, WALL AND CEILING/ROOF
MUST BE MAINTAINED. (i.e., DO NOT CUT THROUGH
FLOOR JOIST, WALL STUD, CEILING TRUSS, ETC.)
WARNING: DO NOT INSTALL IN SLEEPING ROOM.
You must use a Quadra-Fire Outside Air Kit for installation in a mobile home.
 
 
FIGURE 14A
NOTE:      



Related product manuals