EasyManua.ls Logo

Quectel SG368Z-WF - Page 66

Quectel SG368Z-WF
117 pages
Print Icon
To Next Page IconTo Next Page
To Next Page IconTo Next Page
To Previous Page IconTo Previous Page
To Previous Page IconTo Previous Page
Loading...
Smart Module Series
SG368Z_Series_Hardware_Design 65 / 113
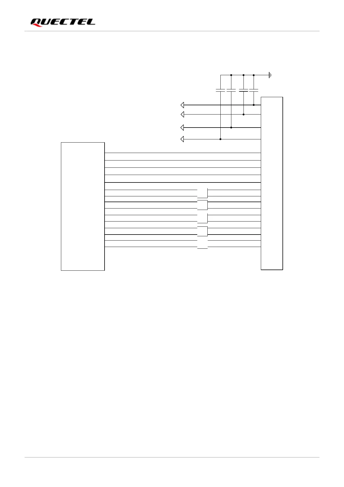
The following is a reference design of one-camera application:
CAM0_PWDN
CAM0_MCLK
CAM0_RST
AVDD
AF_VDD
DVDD
DOVDD
1 μF
1 μF
4.7 μF
4.7 μF
AF_VDD_2V8
AVDD_2V8
DVDD_1V1
DOVDD_1V8
I2Cx_SDA
I2Cx_SCL
CSI_LN0_P
CSI_LN0_N
CSI_LN1_P
CSI_LN1_N
CSI_CLK0_P
CSI_CLK0_N
CSI_LN2_P
CSI_LN2_N
CSI_LN3_P
CSI_LN3_N
CAM
Module
EMI
EMI
EMI
EMI
EMI
Figure 21: Reference Design of One-Camera Application

Table of Contents

Related product manuals