EasyManua.ls Logo

Quectel SG368Z-WF - Electrical Characteristics and Reliability; Absolute Maximum Ratings; Power Supply Ratings

Quectel SG368Z-WF
117 pages
Print Icon
To Next Page IconTo Next Page
To Next Page IconTo Next Page
To Previous Page IconTo Previous Page
To Previous Page IconTo Previous Page
Loading...
Smart Module Series
SG368Z_Series_Hardware_Design 91 / 113
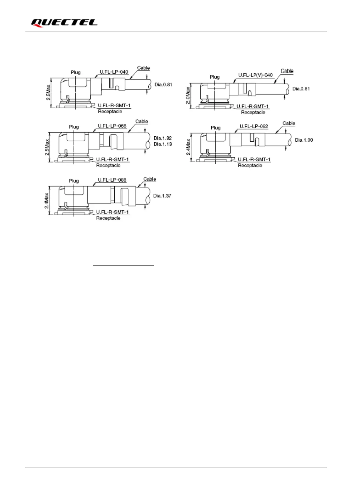
The following figure describes the space factor of the mated connector.
Figure 37: Space Factor of the Mated Connectors (Unit: mm)
For more details, visit http://www.hirose.com.

Table of Contents

Related product manuals