EasyManua.ls Logo

Quickie Revolution - Armrests

Quickie Revolution
47 pages
Print Icon
To Next Page IconTo Next Page
To Next Page IconTo Next Page
To Previous Page IconTo Previous Page
To Previous Page IconTo Previous Page
Loading...
19 Revolution
Issue 5
Chair features
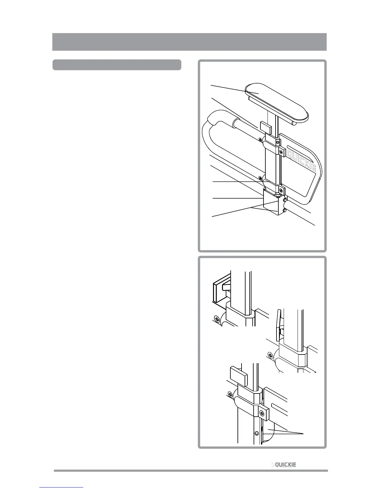
Fig. 18 C
Fig. 18
Height adjustable armrests
Fig. 18 shows the height adjustable
armrest. To install armrests, slide
the outer arm post (1) into the
receiver (2). The armrest will
automatically lock into place.
To adjust armrest height, rotate the
release lever (3) to the second stop
(Fig. 18B). Slide the armrest pad (4)
up or down to the desired height and
return the lever to the locked
position. Push the arm pad until the
upper arm post locks firmly in place.
To detach the armrest, rotate the
release lever to the first stop
(Fig. 18C) and remove the armrest.
To replace the armrest, slide it back
into the receiver (2) and return the
release lever to the locked position
(Fig. 18).
The armrest can be adjusted to
remove free play in the receiver and
inner arm post. To tighten or loosen
the fit of the outer post in the
receiver, first loosen the four bolts (5)
on the sides of the receiver (2) with a
10mm A/F spanner. With the armrest
in the receiver, squeeze the receiver
to achieve the desired fit, then tighten
the four bolts to 8-10Nm torque. To
adjust the fit of the inner arm post
(Fig. 18D), two set screws (6) are
installed in the outer arm post. Turn
the set screws in or out until the
desired fit is achieved using a 3/32"
Allen key.
1
2
3
4
5
Fig. 18B
Fig. 18D
6

Related product manuals