EasyManua.ls Logo

Radio Shack TRS-80

Radio Shack TRS-80
116 pages
To Next Page IconTo Next Page
To Next Page IconTo Next Page
To Previous Page IconTo Previous Page
To Previous Page IconTo Previous Page
Loading...
MREQ
240
19
2MREQ
*"
®
(TO
Z23,
pins 4 and
12)
SEE
,HEET
2
KEf
IOARD
ROM
@
--
--
ROM
'"
08~
M
07
'T6'
"
AI3
3
J
TO
AI4
4
238
AI5
5
(pi
n$
10,12,61
GND
29
MREQ
R9
®
~~___
D
r
---------~~,
I I
I I
R8 I
QS
lOOK
•
I
MPSS3906
I
I
cia
+
CI4
CRI I
:
I~t:~
O'~~eF¢
:~~/:3S
:
I I
;;sv
I~
0'11~0~
I
)0
I
29
(32
PLACES)
I
;
PL
AC
E::A
37
C2 2,C2
3,
C29,
I
16-C19
C31,C33,C3S-C38,
I
'39
C40,C41,
C44-C56
I
L
~
(Revision D and after)
ROM
'"
-
.,
74LS011l
R62
47K
L--.JVV'v-_-+_---()-+
5v
Is
14
13
qRJ
Z3
I
4--·
I
1.'74
b..;:6
........
--'M"'E:.:.Mc.....:;'le.-
)-'8~---'S::..j
- f I
74LSe0
:
~
I
I
I
I
I
__
J I
L
~_--------J
RD'"
13
RAM·
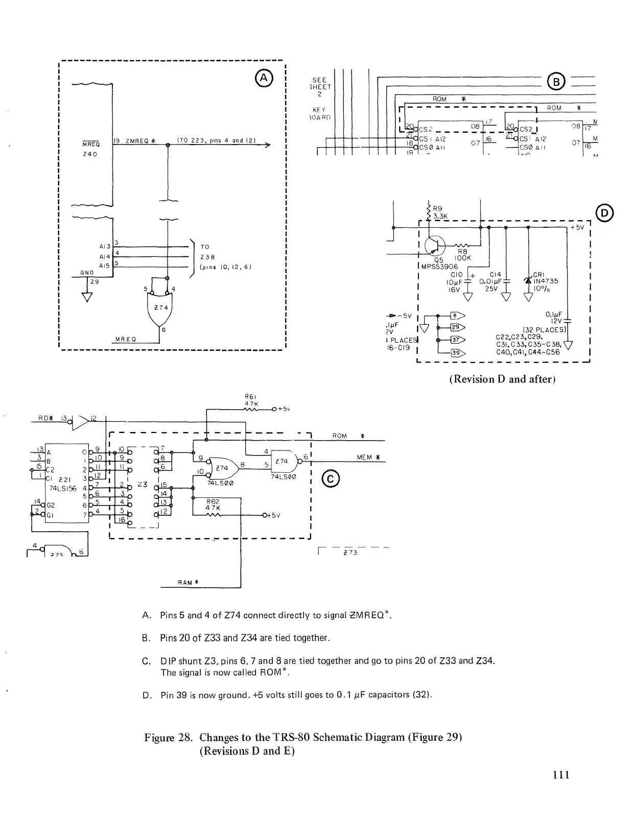
A. Pins 5 and 4
of
Z74
connect
directly
to
signal
~MREQ*.
B.
Pins
20
of Z33
and
Z34
are
tied together.
C.
DIP
shunt
Z3,
pins
6,7
and
8 are tied
together
and go
to
pins
20
of
Z33
and Z34.
The signal
is
now called ROM*.
D.
Pin
39
is
now
ground.
+5 volts still goes
to
0.1
MF
capacitors (32).
Figure 28. Changes to the TRS-80 Schematic Diagram (Figure 29)
(Revisions D and E)
III

Other manuals for Radio Shack TRS-80

Related product manuals