EasyManua.ls Logo

Radio Shack TRS-80 - Illustrated Parts Breakdown

Radio Shack TRS-80
78 pages
To Next Page IconTo Next Page
To Next Page IconTo Next Page
To Previous Page IconTo Previous Page
To Previous Page IconTo Previous Page
Loading...
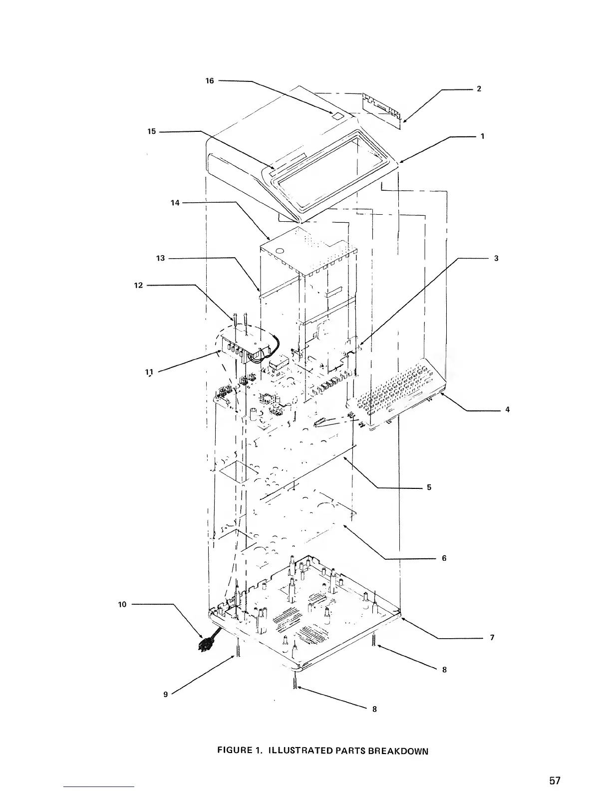
FIGURE
1. ILLUSTRATED
PARTS
BREAKDOWN
57

Other manuals for Radio Shack TRS-80

Related product manuals