EasyManua.ls Logo

Rainbow iPaul 4.300 - Page 45

Rainbow iPaul 4.300
Print Icon
To Next Page IconTo Next Page
To Next Page IconTo Next Page
To Previous Page IconTo Previous Page
To Previous Page IconTo Previous Page
Loading...
22
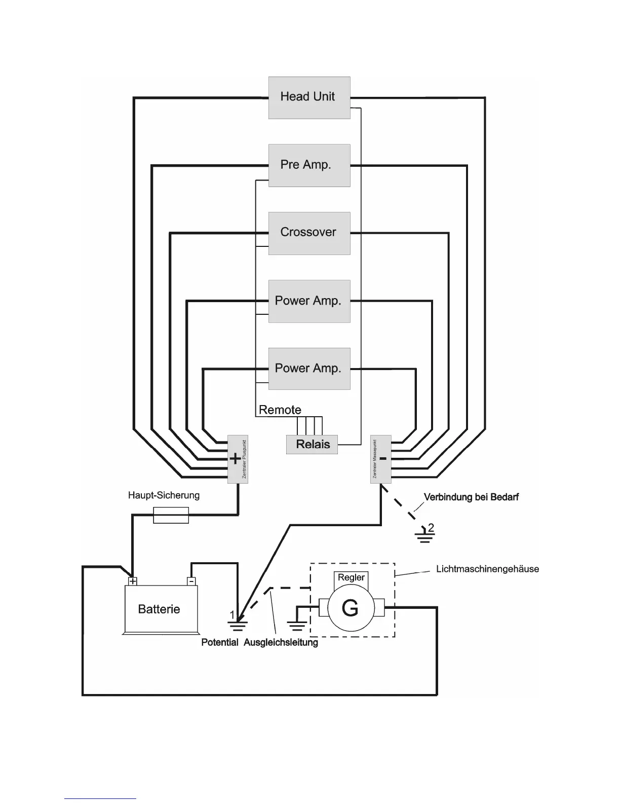
Figure 11: Principal Central Ground Diagram

Related product manuals