EasyManua.ls Logo

Raychem QuickStat-TC - Thermostat Controls and Display; Controls and Display Overview; Date and Time Setting; Setting the Clock and Date

Raychem QuickStat-TC
6 pages
Print Icon
To Next Page IconTo Next Page
To Next Page IconTo Next Page
To Previous Page IconTo Previous Page
To Previous Page IconTo Previous Page
Loading...
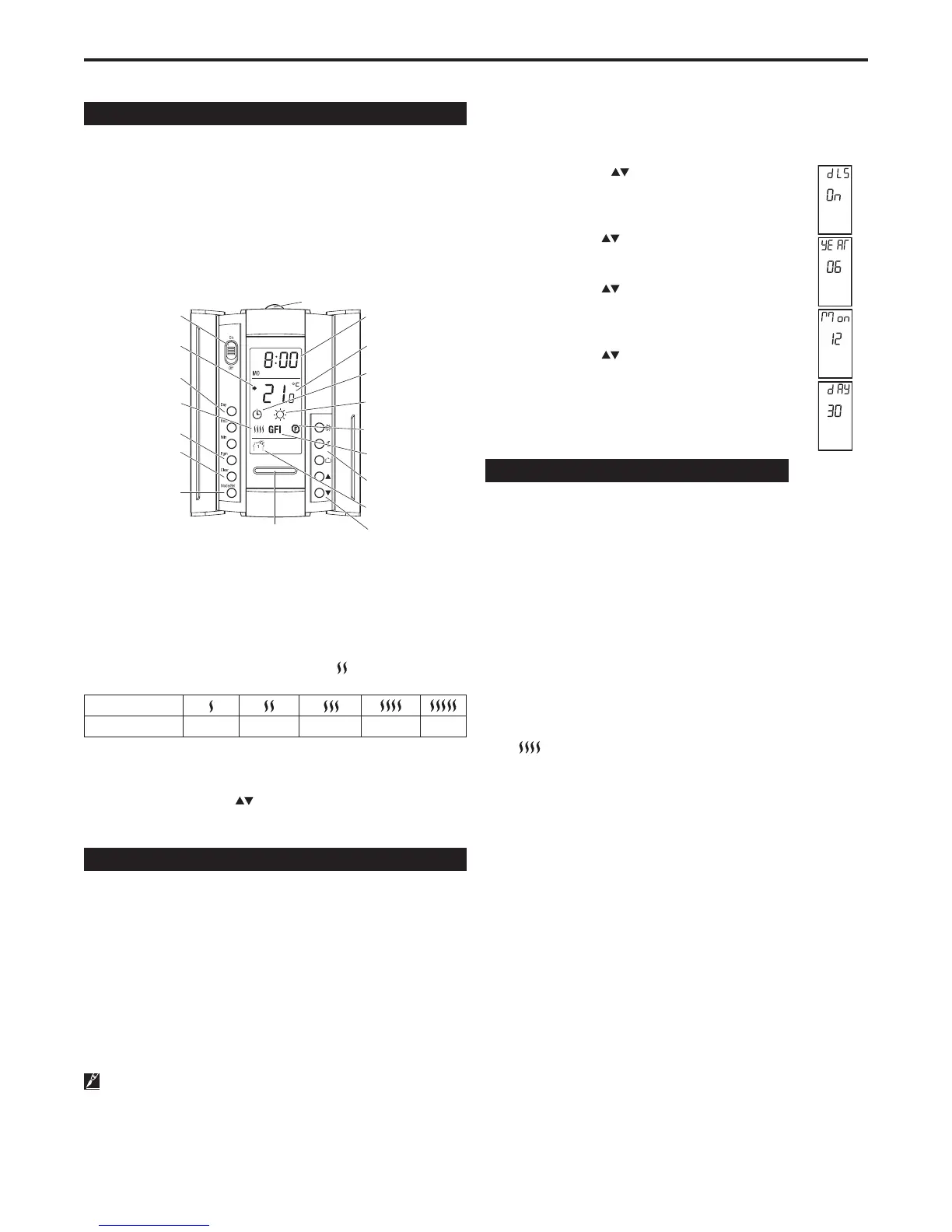
Thermostat Controls and Display
The following figure shows the thermostat controls. The thermostat has
three temperature control modes:
• AFmode:(Defaultmode)Controlsthesystembasedontheambi-
ent air temperature and ensures that the floor temperature does not
exceedthedesiredlimitsusinganexternalfloortemperaturesensor
• Fmode:Controlsthefloortemperatureusinganexternalfloor
sensor
• Amode:Controlsthesystembasedontheambientairtemperature
(does not use floor sensor)
ON/OFF switch
1
and GFCI reset
2
Percentage of
heating time
3
Appears when the
setpoint is displayed
Time and day
display
GFCI test button
Temperature
display
Mode
display
Temperature
preset buttons
Period display
Temperature
adjustment buttons
Preset temperature
indicator
Temperature control
mode indicator
Ground-fault
indicator
4
Date and time
settings
Program button
Program
clear button
Backlight button
Mode selection
/ program exit
1
Place the switch in Standby to cut power to the heater when not in use
(e.g., in the summer). This will not affect the time and temperature
settings.
2
To reset the ground-fault protection, switch the thermostat to Standby
andbacktoOn.
3
The thermostat displays the percentage of heating time required to
maintainthedesiredtemperature.Forexample,
is displayed when
heating is activated 40 percent of the time.
Display
% of heating time 1to24% 25to49% 50 to 74% 75 to 99% 100%
4
GFI appears when the ground-fault protection has tripped.
Thedisplayilluminatesfor12secondswhenthebacklightbuttonis
pressed. When either of the buttons are pressed, the display also
illuminates. The setpoint temperature appears for 5 seconds, then the
actual measured temperature is displayed.
Date and Time Setting
The first time you power up the thermostat, the time and date will flash
and must be set.
1. Press the Hour button to set the hour.
2. Press the Min button to set the minutes.
3. Press the Day button to set the day.
4. Press Mode/Rettoexit.
Daylight Savings Time
The QuickStat-TC can automatically adjust for Daylight Savings Time.
When this function is enabled, the thermostat switches to Daylight
SavingsTimeonthesecondSundayofMarchandtonormaltimeonthe
first Sunday of November.
Note: This function is disabled (default setting) when the clock
loses its setting
To enable Daylight Savings Time:
1. Press and hold the Daybuttonfor3secondsuntilDLSappearson
the screen.
2. Presstheup/down
buttons to toggle between
On(enabled)andOff(disabled).
3. Press the Day button. The year setting is displayed.
4. Usetheup/down
buttons to set the current year.
5. Press the Day button. The month setting is displayed.
6. Usetheup/down
buttons to set the current
month.
7. Press the Day button. The date setting is displayed.
8. Usetheup/down
buttons to set the current date.
9. Press Mode/Rettoexit.
Ground-Fault Protection
TheQuickStat-TChasabuilt-inGFCI(5mAtriplevel).Thisprotects
users against risks of electrocution by cutting off the power to the
floorheatingsystemwhentheleakagecurrentexceeds5mA.Ifa
ground-fault has occurred, the TEST light on the top of the
thermostatwillilluminateredandGFIwillappearonthescreen.
Testing the GFCI
UsersshouldtesttheGFCIaftertheinstallationoftheQuickNetfloor
heating system is complete to ensure that the ground-fault protection is
inworkingorder.UsersshouldtesttheGFCIonamonthlybasis
thereafter.
1.TheGFCIcanonlybetestedifthethermostathasaheating
demand.Increasethesetpointtemperatureabovethecurrent
measured temperature. Wait several seconds to allow the
thermostat to adjust to the new set point and the heating symbol
appears.
2.PresstheTEST button.
The test is successful if the TEST light on top of the thermostat
illuminatesredandGFIappearsonthescreen.
The test has failed if the TEST light on top of the thermostat does not
illuminatered.Inthiscase,turnthepowerofftothefloorheating
system and check the installation of the thermostat.
Resetting the GFCI
IftheGFCIhastripped,resetitbyswitchingthethermostattoStandby
and back to On. The TEST light on top of the thermostat will go off.
IftheGFCItripsinnormaloperationwithoutpressingtheTEST button,
there could be a ground-fault. To check whether it is a ground-fault
ornuisancetripping,resettheGFCI.IftheGFCIdoesnottripafterthe
reset, it was nuisance tripping and the system is functioning properly.
IftheGFCItripsagainafterthereset,thereisaground-fault.Theuser
should contact a qualified electrician to troubleshoot the issue.
QuickStat-TC Installation & Operation Manual
3
400-115-052

Related product manuals