EasyManua.ls Logo

Raypak 0180B Type H - Piping Diagrams

Raypak 0180B  Type H
40 pages
Print Icon
To Next Page IconTo Next Page
To Next Page IconTo Next Page
To Previous Page IconTo Previous Page
To Previous Page IconTo Previous Page
Loading...
17
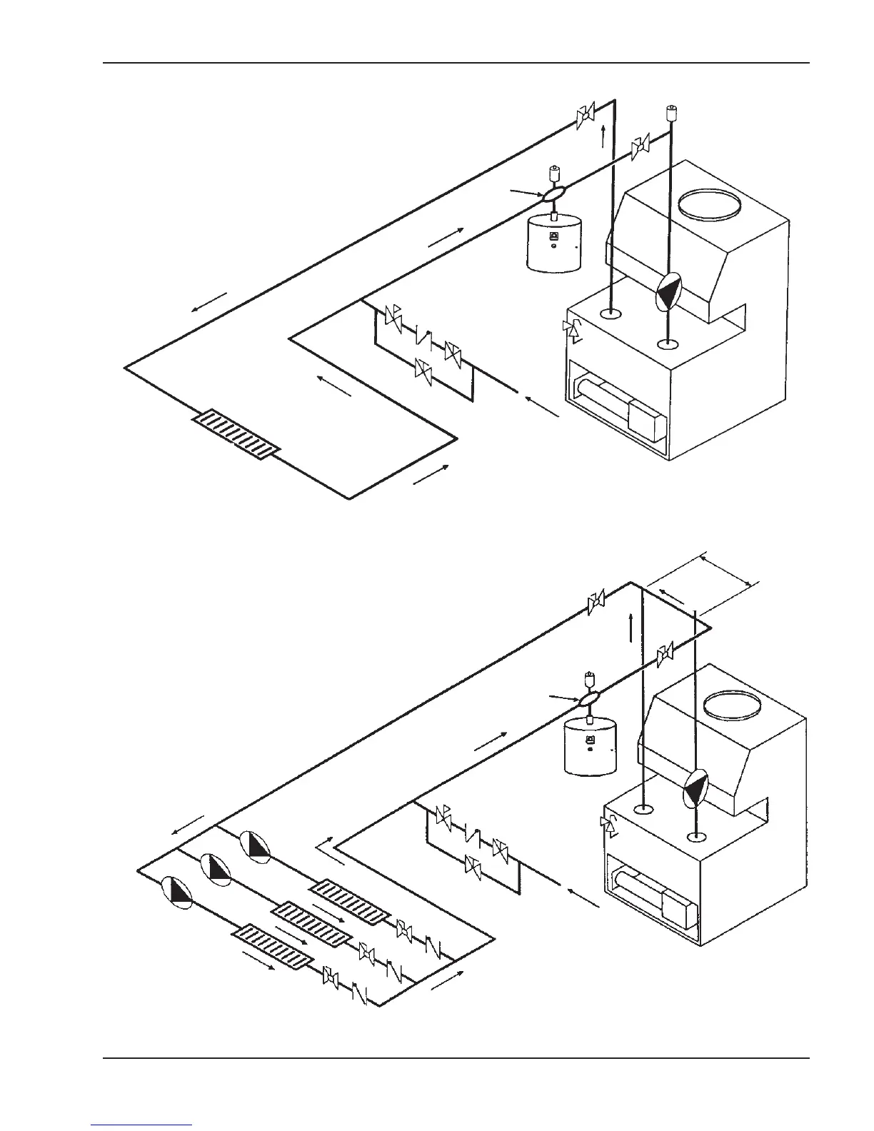
Air
Scoop
Air Vent
Diaphragm
Expansion Tank
Feed
Valve
Pipe Pressure
Relief Valve
to Drain
Cold Water
Inlet
Heating Units
Fig. 15: Single-Zone Piping
Air
Scoop
Air Vent
Diaphragm
Expansion Tank
Feed
Valve
Pipe Pressure
Relief Valve
to Drain
Cold Water
Inlet
Heating Units
Circulators
12” Max.
Fig. 16: Multiple Zones with Circulators
Piping Diagrams

Related product manuals